メインコンテンツに移動

特長

  • 25V出力
  • 12Vまでのアプリケーションで最小BOMコストを実現するために最適
  • 3Vまでの直接充電アプリケーションに最適
  • VINピンの広い動作電圧: 25Vまで
  • AVP(Active Voltage Positioning: アクティブ電圧ポジショニング)制御オプション:
    • トラベルアダプタの無負荷時消費電力は20mWと低消費電力
    • 超高速動的負荷応答
    • 追加ピンや外付け部品不要
  • 並列ショットキーダイオード削減
    • 高効率、低BOMコスト
  • iW1781, iW1782, iW1780H, iW1602, iW1702, iW1797, iW1799など、ルネサス1次側コントローラと互換性あり
  • 小型、SOT23 6ピンパッケージ

説明

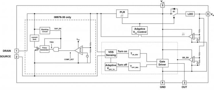
iW676デジタル同期整流器は、ルネサスの複数の一次側コントローラとともに使用することで、RapidCharge™や直接充電アプリケーションなど、スマートフォンやタブレット向けの高電力密度、低BOMコストのアダプタに必要な高効率を提供します。

iW676は、独自のデジタルアダプティブターンオフ制御技術により、ニ次側パラレルショットキーダイオードをMOSFETに置き換え、高電力密度化と低コストを実現しました。 iW676は、従来の同期整流器よりも高効率で、置き換えられるダイオードよりも高効率です。

iW676は、最大12Vまでのアプリケーションおよび3Vまでの直接充電において、最小限のBOMコストになるように最適化されています。 また、ルネサス独自のAVP(Active Voltage Positioning: アクティブ電圧ポジショニング)制御を搭載し、超高速DLR(Dynamic Load Response: 動的負荷応答)を実現し、ピンや外付け部品の追加なしに、トラベルアダプタ全体の無負荷時消費電力を20mWまで低減するオプションも用意しています。

iW676のDiaSIM™シミュレーションモデルを用意しています。 詳細やダウンロード先については、DiaSIMのページをご覧ください。

パラメータ

属性
FunctionSynchronous Rectifier Controller, Support system output voltage from 3V to 25V, Built-in fast system output voltage transient detection
Supported Protocols-

パッケージオプション

Pkg. TypePkg. Dimensions (mm)Lead Count (#)Pitch (mm)
SOT23-6L0.118 x 0.118 x 0.051260.95

アプリケーション・ブロック図

9-axis industrial motor control block diagram features an MPU with dual Arm Cortex-R52 and quad Arm Cortex-A55 cores and supports major industrial Ethernet protocols.
産業イーサネット対応9軸モータ制御
ロボティクスおよび産業アプリケーション向けに設計された高精度で効率的な9軸モータ制御。
The AC/DC adapter block diagram features a zero‑voltage switching controller and SuperGaN FETs, and the design is compliant with USB PD EPR, delivering 240 W output.
240W USB PD AC/DCアダプタ
USB PD 3.2 EPR出力を備えた高効率240W AC/DCアダプタ。
Wi-Fi Garage Door Control Block Diagram
Wi-Fi接続ガレージシャッターコントローラ
Wi-Fiガレージシャッターコントローラは、SoftAPモードでのスマートフォン制御と簡単なプロトタイピングオプションを提供します。
100W Multi-Output USB Power Delivery Adapter Block Diagram
100Wマルチ出力USB電力供給アダプタ
複数の電子機器を効率的に充電するための高性能USB PDアダプタ。
High-Efficiency Online Uninterruptible Power Supply (UPS) with Real-Time Monitoring Block Diagram
リアルタイム監視機能を備えた高効率オンライン無停電電源装置(UPS)
オンラインUPSは、リアルタイム監視、高度な電力管理、および効率により、中断のない電力を保証します。
Industrial motor control system block diagram features an MPU and MCU for mutual monitoring, power supply ICs, and delta-sigma modulators.
産業用ネットワーク&機能安全対応モータ制御システム
このモータ制御システムは、MPUとMCUを統合して、効率的な産業用モータ制御とネットワーキングを実現します。
Motor control with resolver block diagram features resolver position control for both stepper motor systems and alternative BLDC motor systems.
レゾルバによるモータ制御
レゾルバは、ステッピングおよびBLDCモータシステムのモータ制御の精度と信頼性を向上させ、コストを削減します。
AC Drive & General Purpose Inverter System Block Diagram
ACドライブ&汎用インバータシステム
このシステムは、ACドライブと汎用(GP)インバータの基本構成と必須コンポーネントを提供します。

その他アプリケーション

適用されたフィルター