メインコンテンツに移動

特長

  • Four potentiometers in one package
  • 2-wire serial interface
  • Register oriented format
  • Direct read/write/transfer of wiper positions
  • Store as many as four positions per potentiometer
  • Terminal Voltages: +5V, -3.0V
  • Cascade resistor arrays
  • Low power CMOS
  • High Reliability
  • Endurance-100,000 data changes per bit per register
  • Register data retention-100 years
  • 16-bytes of nonvolatile memory
  • 3 resistor array values
  • 2kΩ, 10kΩ, 50kΩ or combination
  • Cascadable for values of 4kΩ to 200kΩ
  • Resolution: 64 taps each pot
  • 20 Ld plastic DIP, 20 Ld TSSOP and 20 Ld SOIC packages
  • Pb-free available (RoHS compliant)

説明

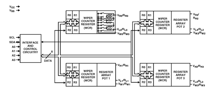
The X9241A integrates four digitally controlled potentiometers (XDCP) on a monolithic CMOS integrated microcircuit. The digitally controlled potentiometer is implemented using 63 resistive elements in a series array. Between each element are tap points connected to the wiper terminal through switches. The position of the wiper on the array is controlled by the user through the 2-wire bus interface. Each potentiometer has associated with it a volatile Wiper Counter Register (WCR) and 4 nonvolatile Data Registers (DR0:DR3) that can be directly written to and read by the user. The contents of the WCR controls the position of the wiper on the resistor array through the switches. Power up recalls the contents of DR0 to the WCR. The XDCP can be used as a three-terminal potentiometer or as a two-terminal variable resistor in a wide variety of applications including control, parameter adjustments, and signal processing.

パラメータ

属性
Resistance TaperLinear
Taps (#)64
Resistance Options (kΩ)2, 10, 50
Channels (#)4
Interface2-Wire
Memory TypeNonvolatile
Supply Voltage Vcc Range4.5 to 5.5
Supply Current Icc (µA)200
Wiper Current (mA)3
Wiper Resistance (ohms)40
VL Terminal Voltage (Min) (V)-3
VL Terminal Voltage (Max) (V)5.5
End-to-End Temperature Coefficient (ppm/°C)300
Middlepoint Ratiometric Tempco20
Advanced FeaturesIntegrated charge pump to allow for single supply to swing -3V to 5.5V
Qualification LevelStandard

パッケージオプション

Pkg. TypePkg. Dimensions (mm)Lead Count (#)Pitch (mm)
SOICW12.9 x 7.5 x 0.00201.3
TSSOP6.5 x 4.4 x 0.90200.7

適用されたフィルター