メインコンテンツに移動
ルネサス エレクトロニクス株式会社 (Renesas Electronics Corporation)

特長

  • リードバック保護(リードロック)
  • 電力供給: 2.5V(±8%)~5V(±10%)
  • 動作温度範囲:-40°C~85°C
  • RoHS指令準拠/ハロゲンフリー
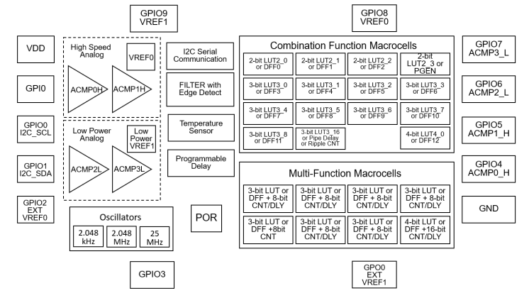
  • マクロセル概要
    • 高速汎用アナログコンパレータ(ACMPxH)x 2
    • 低消費電力汎用アナログコンパレータ(ACMPxH)x 2
    • 2つの基準電圧(Vref):
      • Vref出力 x 2
    • 15種類の組み合わせ機能マクロセル:
      • 3つのDFF/ラッチまたは2ビットLUTを選択可能
      • 1つのプログラマブルパターンジェネレータまたは2ビットLUTのいずれかを選択可能
      • 9つのDFF/ラッチまたは3ビットLUTを選択可能
      • パイプ遅延、リップルカウンタ、3ビットLUTのいずれかを選択可能
      • DFF/ラッチまたは4ビットLUTのいずれかを選択可能
    • 8つの多機能マイクロセル
      • 7つのDFF/ラッチまたは3ビットLUT + 8ビット遅延/カウンタを選択可能
      • DFF/ラッチまたは4ビットLUT + 8ビット遅延/カウンタのいずれかを選択可能
    • シリアル通信:
      • I2Cプロトコルインタフェース
    • エッジ検出器出力付きプログラマブルディレイ
    • デグリッチフィルタまたはエッジ検出器
    • オシレータ(OSC)x 3:
      • 2.048kHzオシレータ
      • 2.048MHzオシレータ
      • 25MHzオシレータ
    • アナログ温度センサ
    • パワーオンリセット(POR)

説明

SLG46855は一般的に使用される混合信号機能向けに、小型で低消費電力の部品を提供します。 ユーザーはワンタイムプログラマブル(OTP)の不揮発性メモリ(NVM)で回路設計を行い、SLG46855のインターコネクトロジック、I/Oピン、マクロセルを設定することができます。 この汎用性の高いデバイスにより、様々な混合信号機能を非常に小さく、低消費電力の単一集積回路内で設計することができます。

本デバイスは、ルネサス事業所でのプログラム書き込みが可能です。
カスタムプログラムユーティリティをお試しください。

パラメータ

属性
GPIOs (#)12
Nominal VDD2.3 - 5.5
ACMP Channels (#)4
CNT/DLY (Max) (#)8
LUTs (Max) (#)23
D Flip-flops (DFFs) (#)21
Pipe Delay16-stage
# of Programable Delays (#)1
Oscillator TypeRC OSC, LF OSC, Ring OSC
Temperature Sensor (ch) (#)1
InterfaceI2C
Memory TypeOTP
Temp. Range (°C)-40 to +85°C

パッケージオプション

Pkg. TypePkg. Dimensions (mm)Lead Count (#)Pitch (mm)
TQFN1.6 x 2.0140.4

アプリケーション・ブロック図

USB-C TWS charging cradle block diagram features an MCU, charger PMIC, Bluetooth LE, and GreenPAK IC, delivering efficient charging and compact system integration.
USB-C Platform with Liquid Detection and Debug Access
USB‑C system with liquid detection and debug access through a single connector, improving reliability while simplifying development, testing, and manufacturing.
Industrial motor control system block diagram features an MPU and MCU for mutual monitoring, power supply ICs, and delta-sigma modulators.
産業用ネットワーク&機能安全対応モータ制御システム
このモータ制御システムは、MPUとMCUを統合して、効率的な産業用モータ制御とネットワーキングを実現します。
The all-in-one smart home controller block diagram combines multiple radio PHYs, a cost-optimized MPU, and versatile connectivity.
複数のPHYを搭載したスマートホームコントローラ
マルチスタンダードPHY、直感的なコントロール、将来を見据えた設計を備えたオールインワンスマートホームゲートウェイ。
HMI system block diagram featuring high-performance RZ MPU with different display options and Wi-Fi, Bluetooth LE, and NFC connectivity.
高性能ヒューマンマシンインタフェース(HMI)システム
幅広いヒューマンマシンインタフェース機能を駆動するための汎用性の高いシステムオンモジュール(SoM)。

その他アプリケーション

  • パソコン・サーバ
  • PC周辺機器
  • 民生機器全般
  • データ通信機器
  • モバイル用途/ポータブルエレクトロニクス
  • スマートフォン/フィットネスバンド
  • ノートブックPC/タブレットPC
本デバイスは、ルネサス事業所でのプログラム書き込みが可能です。
カスタムプログラムユーティリティをお試しください。

適用されたフィルター