Skip to main content
Renesas Electronics Corporation

Features

  • High-voltage type (20V rating)
  • 3-state non-inverting type
  • 1 TTL load output drive capability
  • 2 output disable controls
  • 3 state outputs
  • Pin compatible with industry types MM80C97, MC14503 and 340097
  • 5V, 10V and 15V parametric ratings
  • Maximum input current of 1µA at 18V over full package temperature range; 100nA at 18V and +25 °C
  • Meets all requirements of JEDEC tentative standard No. 13B, "Standard Specifications for Description of 'B' Series CMOS Devices"

Description

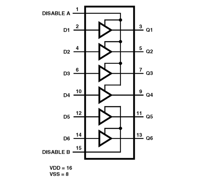
CD4503BMS is a hex noninverting buffer with 3 state outputs that have high sink and source current capability. Two disable controls are provided, one of which controls four buffers and the other controls the remaining two buffers. The CD4503BMS is supplied in these 16-lead outline packages: Braze Seal DIP H4T, Frit Seal DIP H1E, Ceramic Flatpack H6W.

Applications

  • 3 state hex buffer for interfacing ICs with data buses
  • COS/MOS to TTL hex buffer

Applied Filters: