Skip to main content
Renesas Electronics Corporation

Features

  • Read Back Protection (Read Lock)
  • Power Supply: 2.5V (±8%) to 5V (±10%)
  • Operating Temperature Range: -40°C to 85°C
  • RoHS-Compliant/Halogen-Free
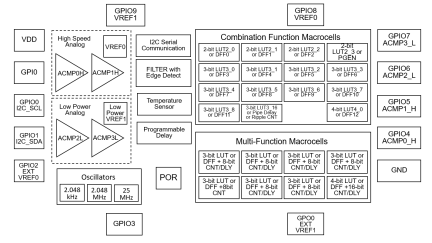
  • Macrocells Overview
    • Two High-Speed General-Purpose Analog Comparators (ACMPxH)
    • Two Low-Power General-Purpose Analog Comparators (ACMPxL)
    • Two Voltage References (Vref)
      • Two Vref Outputs
    • Fifteen Combination Function Macrocells
      • Three Selectable DFF/Latch or 2-bit LUTs
      • One Selectable Programmable Pattern Generator or 2-bit LUT
      • Nine Selectable DFF/Latch or 3-bit LUTs
      • One Selectable Pipe Delay or Ripple Counter or 3-bit LUT
      • One Selectable DFF/Latch or 4-bit LUTs
    • Eight Multi-Function Macrocells
      • Seven Selectable DFF/Latch or 3-bit LUTs + 8-bit Delay/Counters
      • One Selectable DFF/Latch or 4-bit LUT + 16-bit Delay/Counter
    • Serial Communications: I2C Protocol Interface
    • Programmable Delay with Edge Detector Output
    • Deglitch Filter or Edge Detector
    • Three Oscillators (OSC)
      • 2.048kHz Oscillator
      • 2.048MHz Oscillator
      • 25MHz Oscillator
    • Analog Temperature Sensor
    • Power-On Reset (POR)

Description

The SLG46855 programmable mixed-signal matrix IC provides a small, low-power component for commonly used mixed-signal functions. The users creates their circuit design by programming the one-time programmable (OTP) non-volatile memory (NVM) to configure the interconnect logic, the IO pins, and the macrocells of the SLG46855. This highly versatile device allows for a wide variety of mixed-signal functions to be designed within a very small, low-power single integrated circuit.

This device is factory-configurable.
Try the Custom Part Configuration Utility.

Parameters

AttributesValue
GPIOs (#)12
Nominal VDD2.3 - 5.5
ACMP Channels (#)4
CNT/DLY (Max) (#)8
LUTs (Max) (#)23
D Flip-flops (DFFs) (#)21
Pipe Delay16-stage
# of Programable Delays (#)1
Oscillator TypeRC OSC, LF OSC, Ring OSC
Temperature Sensor (ch) (#)1
InterfaceI2C
Memory TypeOTP
Temp. Range (°C)-40 to +85°C

Package Options

Pkg. TypePkg. Dimensions (mm)Lead Count (#)Pitch (mm)
TQFN1.6 x 2.0140.4

Application Block Diagrams

Industrial motor control system block diagram features an MPU and MCU for mutual monitoring, power supply ICs, and delta-sigma modulators.
Motor Control System with Industrial Network and Functional Safety
This motor control system integrates MPU and MCU for efficient industrial motor control and networking.
The all-in-one smart home controller block diagram combines multiple radio PHYs, a cost-optimized MPU, and versatile connectivity.
Smart Home Controller with Multiple PHYs
All-in-one smart home gateway with multi-standard PHYs, intuitive control, and future-proof design.
HMI system block diagram featuring high-performance RZ MPU with different display options and Wi-Fi, Bluetooth LE, and NFC connectivity.
High-Performance Human Machine Interface (HMI) System
Versatile system on module (SoM) for driving a wide range of human machine interface capabilities.

Additional Applications

  • Personal Computers and Servers
  • PC Peripherals
  • Consumer Electronics
  • Data Communications Equipment
  • Handheld and Portable Electronics
  • Smartphones and Fitness Bands
  • Notebook and Tablet PCs
This device is factory-configurable.
Try the Custom Part Configuration Utility.

Applied Filters: