Skip to main content

Features

  • Pb-Free Plus Anneal Available (RoHS Compliant) (See Ordering Info)
  • Pin Compatible with OKI MSM82C55A
  • No Bus Hold Devices on any Port Pins
  • 24 Programmable I/O Pins
  • Fully TTL Compatible
  • High-Speed, No "Wait State" Operation with 8MHz 80C86 and 80C88
  • Direct Bit Set/Reset Capability
  • Enhanced Control Word Read Capability
  • L7 Process
  • 2.5mA Drive Capability on All I/O Ports
  • Low Standby Power (ICCSB) 10µA

Description

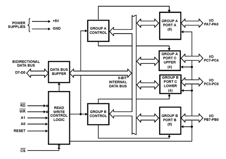
The Renesas 82C55A is a high performance CMOS version of the industry standard 8255A and is manufactured using a self-aligned silicon gate CMOS process (Scaled SAJI IV). The MX82C55A has identical features as the X82C55 with the exception of no bus hold devices on the port pins. It is a general purpose programmable I/O device which may be used with many different microprocessors. There are 24 I/O pins which may be individually programmed in two groups of 12 and used in three major modes of operation. The high performance and industry standard configuration of the 82C55A make it compatible with the 80C86, 80C88 and other microprocessors. Static CMOS circuit design insures low operating power. The Renesas advanced SAJI process results in performance equal to or greater than existing functionally equivalent products at a fraction of the power.

Applied Filters: