Skip to main content
Renesas Electronics Corporation

Features

  • 128-step adjustable sink current output
  • 2.6V to 3.6V digital supply voltage operating range (3.0V minimum programming voltage)
  • 4.5V to 20V analog supply voltage operating range (10.8V minimum programming voltage)
  • Rewritable EEPROM for storing the optimum VCOM value
  • Output adjustment enable/disable control
  • Output guaranteed monotonic over-temperature
  • Two pin adjustment, programming and enable
  • Ultra-thin 8 Ld 3mm x 3mm DFN (0.8mm max)
  • Pb-Free (RoHS compliant)

Description

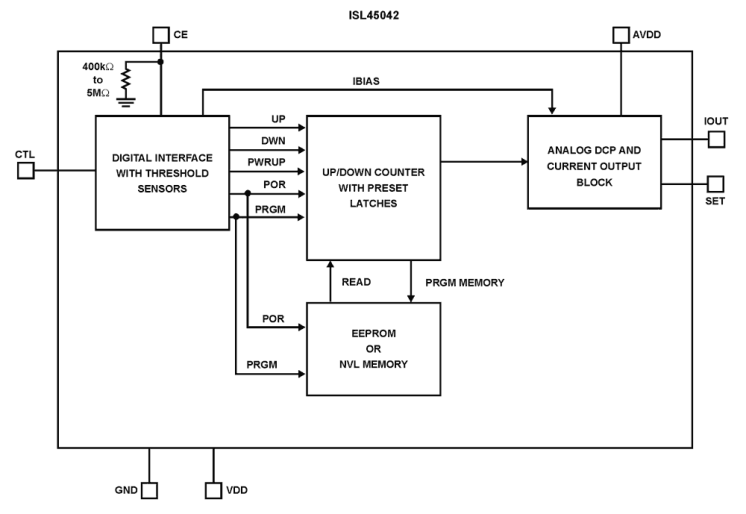
The VCOM voltage of an LCD panel needs to be adjusted to remove flicker. The ISL45042 can be used to digitally adjust a panel's VCOM voltage by controlling its output sink current. The output of the ISL45042 is connected to an external voltage divider and an external VCOM buffer amplifier. In this application, the user can control the VCOM voltage with 7-bit accuracy (128 steps). Once the desired VCOM setting is obtained, the settings can be stored in the non-volatile EEPROM memory, which would then be automatically recalled during every power-up. The VCOM adjustment and non-volatile memory programming is through a single interface pin (CTL). Once the desired programmed value is obtained, the Counter Enable pin (CE) can be used to prevent further adjustment or programming. The full-scale sink current of the ISL45042 is set using an external resistor connected to the SET pin. The full-scale sink current determines the lowest voltage of the external voltage divider. The ISL45042 is available in an 8 Ld 3mm x 3mm TDFN package with a maximum thickness of 0.8mm for ultra-thin LCD panel design.

Applications

  • LCD panels

Applied Filters: