Features
- 128 Resistor Taps
- SPI Serial Interface
- No Additional Level Translator for Low Bus Supply
- Daisy Chaining of Multiple DCP
- Wiper Resistance: 70Ω Typical @ VCC = 3.3V
- Shutdown Mode: Forces DCP into End-to-end Open Circuit; RW Shorted to RL Internally
- Power-on Preset to Mid-scale (64-tap Position)
- Shutdown and Standby Current <2.8µA Max
- Power Supply
- VCC = 1.7V to 5.5V Analog Power Supply
- VLOGIC = 1.2V to 5.5V SPI Bus/Logic Power Supply
- DCP Terminal Voltage from 0V to VCC
- 10kΩ, 50kΩ or 100kΩ Total Resistance
- Extended Industrial Temperature Range: -40°C to +125°C
- 10 Ld MSOP or 10 Ld uTQFN Packages
- Pb-free (RoHS compliant)
Description
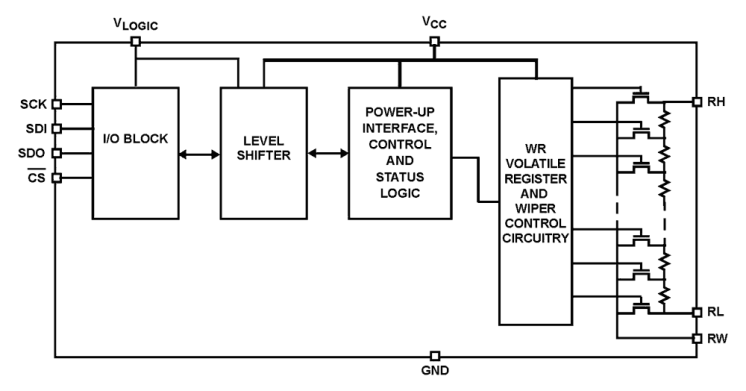
The ISL23418 is a volatile, low voltage, low noise, low power, SPI™ bus, 128 taps, single digitally controlled potentiometer (DCP), which integrates DCP core, wiper switches, and control logic on a monolithic CMOS integrated circuit. The digitally controlled potentiometer is implemented with a combination of resistor elements and CMOS switches. The position of the wiper is controlled by the user through the SPI bus interface. The potentiometer has an associated volatile Wiper Register (WR) that can be directly written to and read by the user. The contents of the WR controls the position of the wiper. When powered on, the ISL23418 wiper always commences at mid-scale (64-tap position). The low voltage, low power consumption, and small package size of the ISL23418 make it an ideal choice for use in battery operated equipment. The ISL23418 has a VLOGIC pin allowing down to 1. 2V bus operation, independent from the VCC value. This allows for low logic levels to be connected directly to the ISL23418 without passing through a voltage level shifter. The DCP can be used as a three-terminal potentiometer or as a two-terminal variable resistor in a wide variety of applications including control, parameter adjustments, and signal processing.
Parameters
| Attributes | Value |
|---|---|
| Resistance Taper | Linear |
| Taps (#) | 128 |
| Resistance Options (kΩ) | 50 |
| Channels (#) | 1 |
| Interface | SPI |
| Memory Type | Volatile |
| Supply Voltage Vcc Range | 1.7 to 5.5 |
| Supply Current Icc (µA) | 100 |
| Single Supply Voltage Range (V) | 5.5 |
| Wiper Current (mA) | 3 |
| Wiper Resistance (ohms) | 70 |
| VL Terminal Voltage (Max) (V) | 5.5 |
| End-to-End Temperature Coefficient (ppm/°C) | 85 |
| Middlepoint Ratiometric Tempco | 8, 4, 2.3 |
| Advanced Features | VLOGIC 1.2V to 5.5V; Daisy Chainable to minimize # I/0 pins on microcontroller |
| Qualification Level | Standard |
Package Options
| Pkg. Type | Pkg. Dimensions (mm) | Lead Count (#) | Pitch (mm) |
|---|---|---|---|
| MSOP | 3.0 x 3.0 x 0.85 | 10 | 0.5 |
Applications
- Power Supply Margining
- RF Power Amplifier Bias Compensation
- LCD Bias Compensation
- Gain Adjustment in Battery Powered Instruments
- Portable Medical Equipment Calibration
Applied Filters: