Skip to main content

Features

  • 11-bit pipelined ADC core
  • Clock input divider by 2 for less jitter contribution
  • CMOS or LVDS DDR digital outputs
  • Duty cycle stabilizer
  • Fast OuT of Range (OTR) detection
  • Flexible input voltage range: 1 V p-p to 2 V p-p
  • HVQFN40 package
  • INL &plusmn
  • 0.25 LSB, DNL &plusmn
  • 0.12 LSB
  • Input bandwidth, 600 MHz
  • Integrated input buffer
  • Offset binary, 2's complement, gray code
  • Pin compatible with the ADC1415S series, ADC1215S series and the ADC1015S
  • series
  • Power-down and Sleep modes
  • Sample rate up to 125 Msps
  • Serial Peripheral Interface (SPI)
  • SNR, 67 dBFS
  • SFDR, 90 dBc

Description

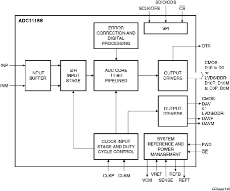
The ADC1115S is a single-channel 11-bit Analog-to-Digital Converter (ADC) optimized for high dynamic performances and low power consumption. Pipelined architecture and output error correction ensure the ADC1115S is accurate enough to guarantee zero missing codes over the entire operating range. Supplied from a single 3 V source, it can handle output logic levels from 1.8 V to 3.3 V in CMOS mode. It supports the LVDS DDR output standard. An integrated SPI allows the user to easily configure the ADC. With excellent dynamic performance from the baseband to input frequencies of 170 MHz or more. The integrated input buffer ensures that the input impedance remains constant and low and the performance consistent over a wide frequency range.

Applied Filters: