Skip to main content
Renesas Electronics Corporation

Features

  • Pin to Pin compatible to the higher density 72V361x0
  • Up to 166 MHz Operation of the Clocks
  • User selectable Asynchronous read and/or write ports (PBGA Only)
  • User selectable input and output port bus-sizing
  • 5V input tolerant
  • Auto power down minimizes standby power consumption
  • Master Reset clears entire FIFO
  • Partial Reset clears data, but retains programmable settings
  • Easily expandable in depth and width
  • JTAG port, provided for Boundary Scan function (PBGA Only)
  • Independent Read and Write Clocks
  • Available in 128-pin TQFP or 144-pin PBGA packages
  • Industrial temperature range (–40C to +85C) is available

Description

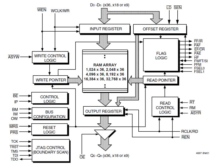
The 72V3650 2K x 36 SuperSync II FIFO memory with clocked read and write controls offers flexible Bus-Matching x36/x18/x9 data flow and Asynchronous/Synchronous translation on the read or write ports ; SuperSync II FIFO's are appropriate for network, video, telecommunications, data communications and other applications that need to buffer large amounts of data and match busses of unequal sizes.

Applied Filters: