Features
- NTSC (M, 4.43) and PAL (B, D, G, H, I, M, N, N combination), PAL (60), SECAM with automatic format detection
- 10-bit ADC and analog clamping circuit
- Fully programmable static gain or automatic gain control for CVBS channel
- Programmable white peak control for the CVBS channel
- High quality adaptive 2D comb filter for both NTSC and PAL inputs
- PAL delay line for color phase error correction
- Image enhancement with 2D dynamic peaking/CTI
- Digital sub-carrier PLL for accurate color decoding
- Programmable hue, brightness, saturation, contrast, sharpness
- Selectable differential or single-ended CVBS input
- Digital horizontal PLL and advanced synchronization processing for VCR playback and weak signal performance
- High quality horizontal and vertical filtered down scaling with arbitrary scale down ratio
- Up to 3-CH differential or 6-CH single-ended CVBS input
- Supports RGB 24-bit input up to 1080p resolution at either 1.8V or 3.3V logic level
- Supports both BT.656 and 601 video formats with H/VSYNC
- Built-in programmable timing controller
- Supports 3, 4, 6 or 8 bits per pixel up to 16.8 million colors with built-in dithering engine
- Supports digital panels (TTL) or single channel LVDS panels up to WXGA (1366x768) resolution, 85MHz
- Supports serial (8-bit) RGB panel
- Supports programmable interface signals for control
- Column (source) driver/row(gate) driver
Description
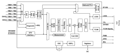
The TW8824 is a highly integrated LCD video processor that incorporates many of the key features required to create a multipurpose LCD display system into a single package. This includes a high quality 2D comb NTSC/PAL/SECAM video decoder, which supports both single-ended and differential CVBS signals, a digital RGB input interface, high quality scaler and deinterlacer, a Font OSD engine and LVDS, TTL or TCON output panel interfaces. The TW8824 can support input resolutions up to 1080p and can drive LCD panels at resolutions up to 1366x768. The TW8824’s video processing capability includes arbitrary H/V scaling, panoramic scaling, image mirroring, image adjustment and enhancement, black and white stretch, etc. This device can support fast boot system requirements and provides stability and reliability to the system due to the fact that it is a hardwired solution that can sync to the video source and display an image on the LCD in less than 0. 5 seconds from start-up. The feature set and versatility of this device makes it an ideal solution for in-car LCD display applications.
Parameters
| Attributes | Value |
|---|---|
| CVBS Input | Yes (differential) |
| S-Video Input | No |
| YPbPr Input | No |
| SCART Input | No |
| Analog RGB Input | No |
| Digital RGB/Y CbCr Input | 24 bit |
| ADC Input Frequency (MHz) | 27 |
| Comb Filter | 2D |
| Output Resolution (Max) | WXGA |
| De-Interlacer | 2D |
| Color Enhancement | Yes |
| PIP | No |
| OSD Type | Font |
| OSD Font RAM | 256 |
| External OSD | No |
| CCFL/LED Controller | No |
| Dual View Output | No |
| LVDS Input | No |
| LVDS Output | Yes |
| MCU/MPU | External |
| Memory Support | No |
| MIPI-CSI2 input | No |
| OSD Colors | 16 Colors / 16-bit Pallette |
| Secondary Output | No |
| TCON Output | Digital |
| Touch-screen Controller | No |
| TTL Output | Yes |
| Qualification Level | AEC-Q100 Grade 2 |
Package Options
| Pkg. Type | Pkg. Dimensions (mm) | Lead Count (#) | Pitch (mm) |
|---|---|---|---|
| TQFP | 12.0 x 12.0 x 0.00 | 100 | 0.4 |
Applied Filters: