Features
- Four Potentiometers in One Package
- 256 Resistor Taps - 0.4% Resolution
- I2C Serial Interface
- Three address pins, up to eight devices/bus
- Wiper Resistance: 70Ω Typical at 3.3V
- Non-Volatile Storage of Wiper Position
- Standby Current <5µA Max
- Power Supply: 2.7V to 5.5V
- 50kΩ, 10kΩ Total Resistance
- High Reliability
- Endurance: 150,000 data changes per bit per register
- Register data retention: 50 years at T ≤75 °C
- 20 Ld TSSOP
- Pb-Free Plus Anneal Available (RoHS Compliant)
Description
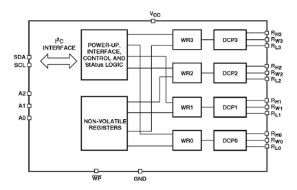
The X95840 integrates four digitally controlled potentiometers (XDCP™) on a monolithic CMOS integrated circuit. The digitally controlled potentiometers are implemented with a combination of resistor elements and CMOS switches. The position of the wipers is controlled by the user through the I2C bus interface. Each potentiometer has an associated volatile Wiper Register (WR) and a non-volatile Initial Value Register (IVR), that can be directly written to and read by the user. The contents of the WR control the position of the wiper. At power up the device recalls the contents of the four DCP's IVR to the corresponding WRs. The DCPs can be used as three-terminal potentiometers or as two-terminal variable resistors in a wide variety of applications including control, parameter adjustments, and signal processing.
Parameters
| Attributes | Value |
|---|---|
| Resistance Taper | Linear |
| Taps (#) | 256 |
| Resistance Options (kΩ) | 10, 50 |
| Channels (#) | 4 |
| Interface | I2C |
| Memory Type | Nonvolatile |
| Supply Voltage Vcc Range | 2.7 to 5.5 |
| Supply Current Icc (µA) | 5 |
| Single Supply Voltage Range (V) | 0 - 5.5 |
| Wiper Current (mA) | 3 |
| Wiper Resistance (ohms) | 70 |
| VL Terminal Voltage (Min) (V) | 0 |
| VL Terminal Voltage (Max) (V) | 5.5 |
| End-to-End Temperature Coefficient (ppm/°C) | 45 |
| Middlepoint Ratiometric Tempco | 4 |
| Advanced Features | Quad version of ISL95810 |
| Qualification Level | Standard |
Package Options
| Pkg. Type | Pkg. Dimensions (mm) | Lead Count (#) | Pitch (mm) |
|---|---|---|---|
| TSSOP | 6.5 x 4.4 x 0.90 | 20 | 0.7 |
Applied Filters: