メインコンテンツに移動
ルネサス エレクトロニクス株式会社 (Renesas Electronics Corporation)

特長

  • Built-in charge pump
  • 3.3V compatible logic interface
  • Low standby current
  • Short circuit protection
    • Shutdown by over current detection
    • Power limitation protection by over load detection (Power limitation: current limitation with delta Tch control)
    • Absolute Tch over temperature protection
  • Built-in diagnostic function
    • Proportional load current sensing
    • Defined fault signal in case of abnormal load condition
  • Loss of ground protection
  • Under voltage lock out
  • Active clamp operation at inductive load switch off
  • Cross current protection in case of H-bridge high side usage
  • AEC Qualified
  • RoHS compliant
  • Product Spec.
    • Nch/Pch: Nch
    • Automotive: YES
    • Package Type.: 12pinHSSOP
    • Type: High side
    • Channels: 1
    • RON (mohm) typ. @ Tj = 25 °C: 16
    • RON (mohm) max. @ Tj = 150 °C: 32
    • Vcc (V) min.: 4.5
    • Vcc (V) max.: 28
    • Vload dump (V): 42
    • IL (A) typ.: 6.8
    • IL (SC) (A): 68
    • Diagnostic: Current Sense
    • ton (µs) max.: 200
    • toff (µs) max.: 200
    • Tch (°C) min. :-40
    • Tch (°C): 150
    • Mounting: SMD
    • Production Status :Product Inquiry

説明

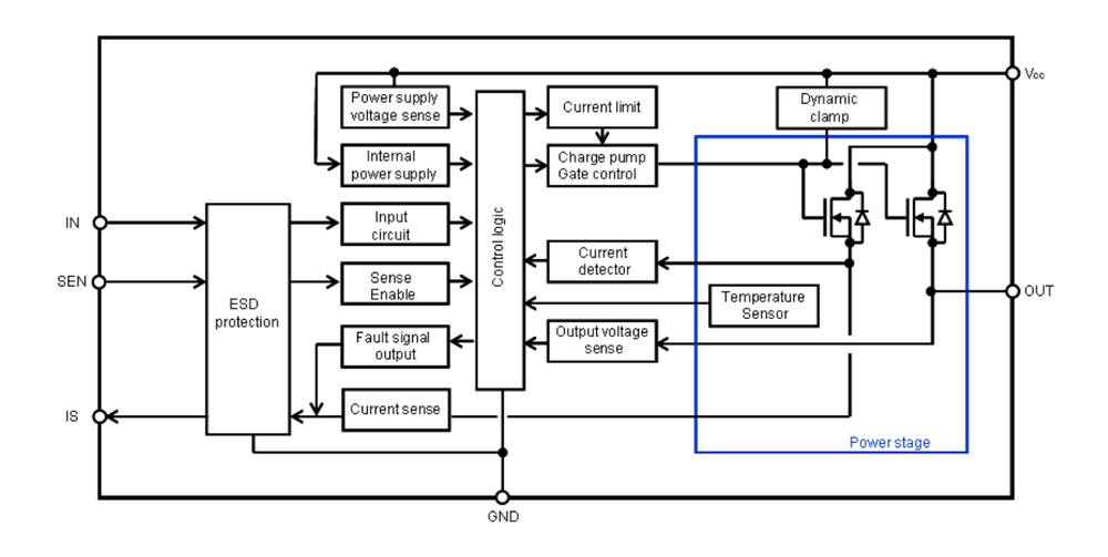
µPD166025T1J is part of 2nd Generation Intelligent Power Devices (IPD). This is N-channel high-side switch with charge pump, voltage controlled input, diagnostic feedback with proportional load current sense and embedded protection function. Family includes up to 10 devices depending on on-state resistance, package and channel number combination. Scalability: Variety of on-state resistance combined with standardized package on pin-out give user high flexibility for unit design depending on target load. Robustness: Because of advanced protection method, 2nd Generation Intelligent Power Devices achieve high robustness against long term and repetitive short circuit condition.

パラメータ

属性
FunctionRobust & Safety
RON (mohm) typ. @ Tj = 25 °C (mohm)16
Channels per device (#)1

パッケージオプション

Pkg. Type
12pHSSOP

適用されたフィルター