特長
- 入力範囲:2.7V~5.5V
- 5つの出力調整可能なスイッチングレギュレータ
- 出力電圧VOUT:0.3V~3.3V
- 15A(降圧レギュレータ1)
- 2A(降圧レギュレータ2/3)
- 4A(降圧レギュレータ4/5)
- 全降圧レギュレータ向けのプログラマブル電流制限
- 2つのリニアレギュレータ
- 出力電圧 0.6V~3.6V(LDO1-2)、電流300mA
- 監視用12ビット アナログ・デジタル変換回路
- I2CまたはSPI インターフェースを介して設定可能
- プログラマブル電源シーケンス
- R-Car SoCシーケンスのアクティベーションに対応
- チャレンジ・レスポンス方式ウォッチドッグタイマー
- 冗長化された熱保護システム
- 60ボールBGAパッケージ、0.8mmピッチ
- 機能的安全性ASIL C(ISO 26262)
- AEC-Q100認定(グレード1)
説明
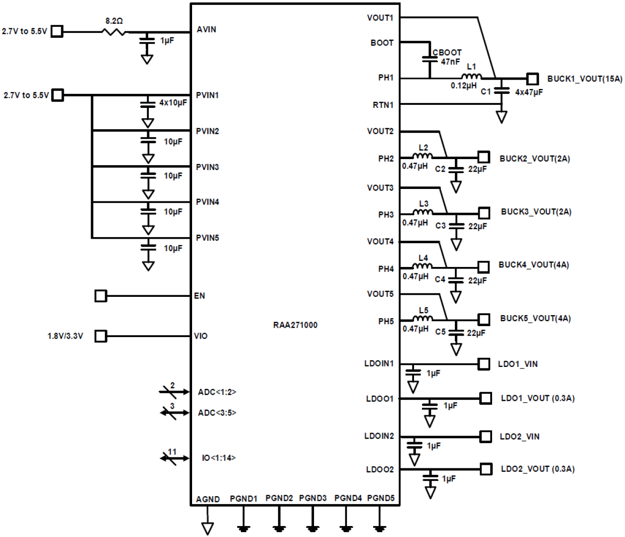
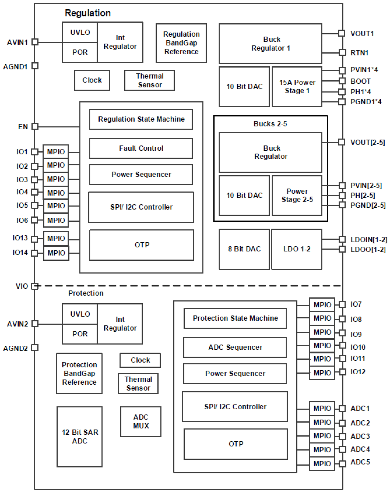
RAA271000はルネサスR-Car SoCシリーズに最適な汎用電源管理用集積回路(PMIC)です。 RAA271000には5つのDC/DC降圧レギュレータと2つの低ドロップアウトリニアレギュレータ(LDO)を備えています。 RAA271000は機能安全ASIL Cまで対応するために、監視機能用に独立した基準回路、デュアル内部温度モニター、チャレンジ・レスポンス方式ウォッチドッグタイマー、SoCエラーピンモニター、リセット、専用安全制御ステートマシン、安全遮断経路を備えています。 12ビットADCはすべての入力レール、出力レール、内部温度と、外部アナログソースを監視することができます。
パラメータ
| 属性 | 値 |
|---|---|
| Function | 7-ch PMIC |
| Outputs (#) | 7 |
| Input Voltage (Min) (V) | 2.7 |
| Input Voltage (Max) (V) | 5.5 |
| Output Current Max (A) | 15 |
| Battery Interface | No |
| Integrated Battery Charger | No |
| USB-Power Management | No |
| Switching Frequency (MHz) | 2 - 2 |
| GPIOs (#) | 5 |
| Bus Voltage (Max) (V) | 5.5 |
| Integrated step-down DC/DC Converter Channels (#) | 7 |
| Step-up DC/DC converter Channels (#) | 0 |
| Total step-down DC/DC converter channels (#) | 7 |
| Comm. Interface | I2C & SPI |
| Parametric Applications | ADAS |
パッケージオプション
| Pkg. Type | Pkg. Dimensions (mm) | Lead Count (#) | Pitch (mm) |
|---|---|---|---|
| LFBGA | 5.7 x 8.5 x 1.12 | 60 | 0.8 |
アプリケーション
- 車載用ビジョンシステム
- 自動車用LiDARシステム
- 自動車用先進運転支援システム(ADAS)
- 車載統合コックピットシステム
- R-Car V3H SoC向けに最適な電源供給
適用されたフィルター
読込中
フィルター
ソフトウェア/ツール
サンプルコード
シミュレーションモデル
ニュース&ブログ
ブログ
2023年11月28日
|
ブログ
2023年10月17日
|
ブログ
2021年7月2日
|