特長
- True Dual-Ported memory cells which allow simultaneous reads of the same memory location
- 70V09 easily expands data bus width to 16 bits or more
- Dual chip enables allow for depth expansion without external logic
- Busy and Interrupt Flag
- On-chip port arbitration logic
- Full on-chip hardware support of semaphore signaling between ports
- Fully asynchronous operation from either port
- TTL-compatible, single 3.3V (±0.3V) power supply
- Available in 100-pin TQFP packages
- Industrial temperature range (-40C to +85C) is available
説明
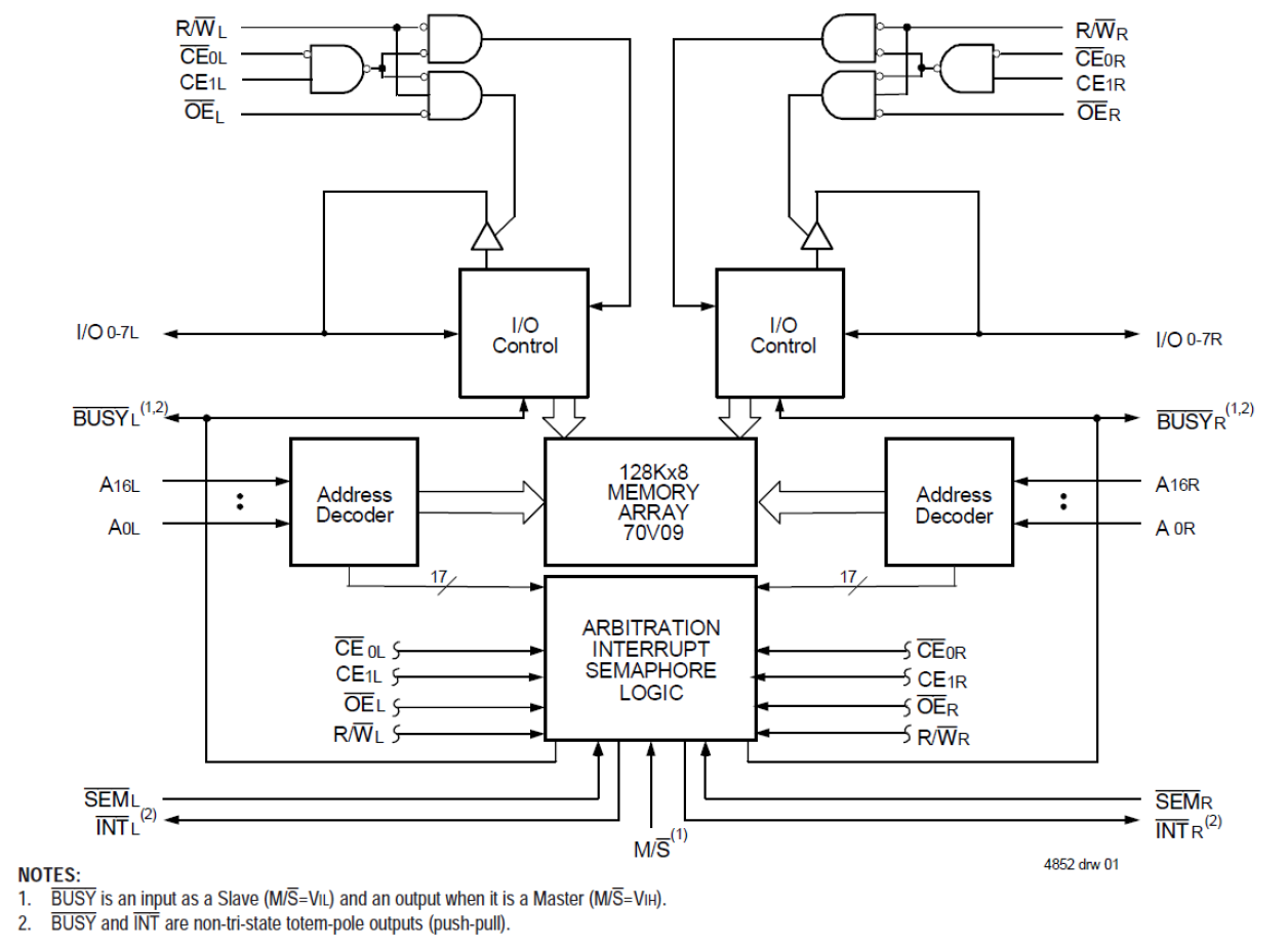
The 70V09 is a high-speed 128K x 8 Dual-Port Static RAM designed to be used as a stand-alone 1024K-bit Dual-Port SRAM or as a combination MASTER/SLAVE Dual-Port SRAM for 16-bit-or-more word systems which results in full speed, error-free operation without the need for additional discrete logic. An automatic power down feature controlled by the chip enables (either CE0 or CE1) permit the on-chip circuitry of each port to enter a very low standby power mode.
パラメータ
| 属性 | 値 | 
|---|---|
| Core Voltage (V) | 3.3 | 
| Bus Width (bits) | 8 | 
| Density (Kb) | 1024 | 
| Pkg. Code | PNG100 | 
| Interface | Async | 
| I/O Type | 3.3 V LVTTL | 
| Access Time (ns) | 20 | 
| Temp. Range (°C) | -40 to 85°C | 
| Architecture | Dual-Port | 
| Organization | 128K x 8 | 
| Function | Busy, Interrupt, Master, Semaphore, Slave | 
パッケージオプション
| Pkg. Type | Pkg. Dimensions (mm) | Lead Count (#) | Pitch (mm) | 
|---|---|---|---|
| TQFP | 14.0 x 14.0 x 1.4 | 100 | 0.5 | 
適用されたフィルター
読込中
     
