Skip to main content
Renesas Electronics Corporation

Features

  • Solid-state potentiometer
  • Three-wire serial interface
  • 100 wiper tap points
  • Wiper position stored in nonvolatile memory and recalled on power-up
  • 99 resistive elements, log taper
  • Temperature compensated
  • End to end resistance, 32kΩ ±15%
  • Terminal voltages, ±5V
  • Low power CMOS
  • VCC = 5V
  • Active current, 3mA max.
  • Standby current, 750µA max.
  • High reliability
  • Endurance, 100,000 data changes per bit
  • Register data retention, 100 years
  • Packages
  • 8 Ld TSSOP
  • 8 Ld SOIC
  • 8 Ld PDIP

Description

Support is limited to customers who have already adopted these products.

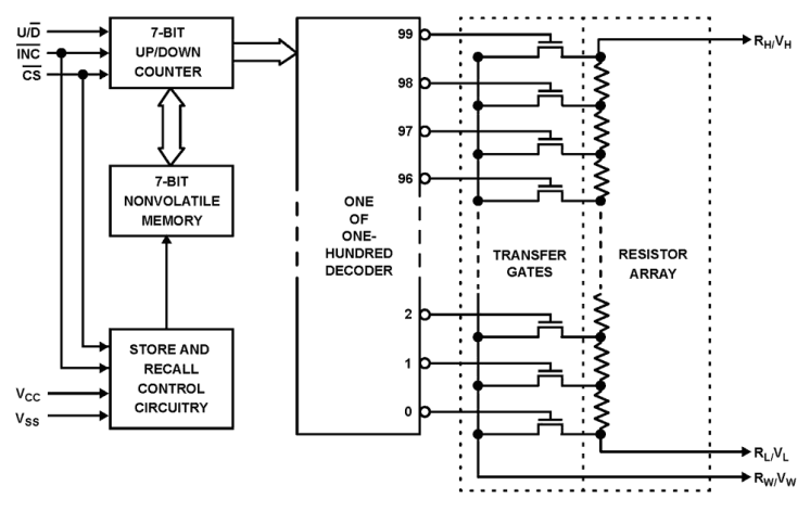
The Intersil X9C303 is a digitally controlled potentiometer (XDCP). The device consists of a resistor array, wiper switches, a control section, and nonvolatile memory. The wiper position is controlled by a three-wire interface. The resistor array is composed of 99 resistive elements. Between each element and at either end are tap points accessible to the wiper terminal. The position of the wiper element is controlled by the CS, U/D, and INC inputs. The position of the wiper can be stored in nonvolatile memory and then be recalled upon a subsequent power-up operation. The device can be used as a three-terminal potentiometer or as a two-terminal variable resistor in a wide variety of applications ranging from control, to signal processing, to parameter adjustment. Digitally-controlled potentiometers provide three powerful application advantages; (1) the variability and reliability of a solid-state potentiometer, (2) the flexibility of computer-based digital controls, and (3) the use of nonvolatile memory for potentiometer settings retention.

Applied Filters: