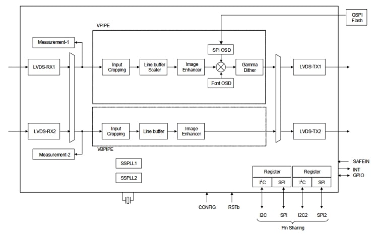
Features
- Dual OpenLDI Input/Output
- Supports up to 150MHz per channel on the inputs
- Supports up to 104MHz per channel on the outputs
- ISO 26262 Functional Safety
- Cyclic Redundancy Checks (CRCs), parity, Built-In Self-Test (BIST), and redundancy safety mechanisms implemented throughout the entire data path
- Video diagnostic capabilities
- Input/Output monitoring of video timing, signal integrity, and content
- Flickering, flashing, occlusion, and glare detection
- Spread Spectrum for lower system level EMI profile
- Image enhancement engine for superior image quality
- Dual host interface: I2C and SPI (configurable)
- SPI-Flash based On-Screen Display (OSD) as well as an embedded font-based OSD
- SPI boot capability (boot from SPI Flash, no MCU needed)
- Supports multi-bank for fail-safe over-the-air (OTA) updates
- Space efficient 72SCQFN, 10mm x 10mm
- AEC-Q100 Grade 2 qualified
Description
The RAA278830 is a highly integrated dual LVDS (OpenLDI) LCD video processor that integrates many of the features necessary to design an ISO 26262 ASIL B automotive display system. Optimized for Heads-Up-Displays (HUD), digital instrument clusters, and Camera Monitoring Systems (CMS and eMirrors), the RAA278830 provides diagnostics for video content in addition to signal integrity. The internal diagnostics and measurement engines can detect frozen video, incorrect colors, and broken or corrupt video images, as well as flashing, flickering, and video images that could obstruct the driver's view of the road (in the case of HUD systems).
Parameters
| Attributes | Value |
|---|---|
| CVBS Input | No |
| S-Video Input | No |
| YPbPr Input | No |
| SCART Input | No |
| Digital RGB/Y CbCr Input | No |
| Comb Filter | N/A |
| Output Resolution (Max) | 1080p (1920x1080) |
| De-Interlacer | N/A |
| Color Enhancement | Yes |
| PIP | No |
| OSD Type | Font / SPI bitmap |
| OSD Font RAM | 512 |
| External OSD | No |
| CCFL/LED Controller | No |
| Dual View Output | No |
| LVDS Input | Yes (2CH) |
| LVDS Output | Yes (2CH) |
| Memory Support | No |
| MIPI-CSI2 input | No |
| OSD Colors | 16 Colors / 16-bit Pallette |
| TCON Output | No |
| Touch-screen Controller | No |
| TTL Output | No |
| ISO 26262 (Functional Safety) | ASIL B |
| Qualification Level | AEC-Q100 Grade 2 |
Package Options
| Pkg. Type | Pkg. Dimensions (mm) | Lead Count (#) | Pitch (mm) |
|---|---|---|---|
| SCQFN | 10.0 x 10.0 x 0.85 | 72 | 0.5 |
Applications
- Heads-Up-Displays (HUD)
- Digital instrument clusters
- Camera Monitoring Systems (CMS) including electronic mirrors (eMirrors)
Applied Filters: