Skip to main content

Features

  • Real Time Clock/Calendar
  • Tracks Time in Hours, Minutes, and Seconds
  • Day of the Week, Day, Month, and Year
  • Security and Event Functions
  • Tamper detection with Time Stamp in Normal and Battery Backed modes
  • Event Detection During Battery Backed or Normal Modes
  • Selectable Event Input Sampling Rates Allows Low Power Operation
  • Selectable Glitch Filter on Event Input Monitor
  • 15 Selectable Frequency Outputs
  • Single Alarm
  • Settable to the Second, Minute, Hour, Day of the Week, Day, or Month
  • Single Event or Pulse Interrupt Mode
  • Automatic Backup to Battery or Super Cap
  • Power Failure Detection
  • On-Chip Oscillator Compensation
  • 2 Bytes Battery-Backed User SRAM
  • I2C Interface
  • 400kHz Data Transfer Rate
  • 400nA Battery Supply Current
  • Small Package
  • 10 Ld MSOP
  • Pb-Free (RoHS Compliant)

Description

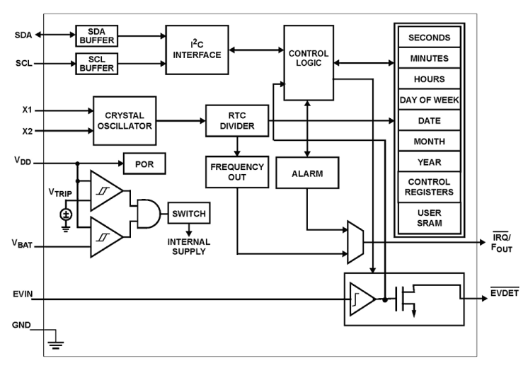
The ISL1219 device is a low power real time clock with Event Detect and Time Stamp function, timing and crystal compensation, clock/calendar, power fail indicator, periodic or polled alarm, intelligent battery backup switching and 2 Bytes of battery-backed user SRAM. The oscillator uses an external, low-cost 32. 768kHz crystal. The real time clock tracks time with separate registers for hours, minutes, and seconds. The device has calendar registers for date, month, year and day of the week. The calendar is accurate through 2099, with automatic leap year correction.

Parameters

Attributes Value
Temp. Range (°C) -40 to +85°C

Package Options

Pkg. Type Pkg. Dimensions (mm) Lead Count (#) Pitch (mm)
MSOP 3.0 x 3.0 x 0.85 10 0.5

Application Block Diagrams

Multi-protocol network system block diagram utilizes the industrial communication MPU and various devices to support communication protocols like Ethernet-based OPC UA and BACnet.
Multi-Protocol Network System for Building Automation
Multi-protocol network system collects data from various building automation systems and incorporates industrial communication technologies.

Additional Applications

  • Utility Meters
  • Set Top Box/Modem
  • POS Equipment
  • Network Routers, Hubs, Switches, Bridges
  • Cellular Infrastructure Equipment
  • Fixed Broadband Wireless Equipment
  • Test Meters/Fixtures
  • Vending Machine Management
  • Security and Anti Tampering Applications Panel/Enclosure Status Warranty Reporting Time Stamping Applications Patrol/Security Check (Fire or Light Equipment) Automotive Applications

Applied Filters: