Skip to main content
Renesas Electronics Corporation

Features

  • >90% efficiency
  • 1.6A, 200mΩ power MOSFET
  • VIN >2.5V
  • 600kHz/1.2MHz switching frequency selection
  • Adjustable soft-start
  • Internal thermal protection
  • 1.1mm max height 8 Ld MSOP package
  • Pb-free plus anneal available (RoHS compliant)

Description

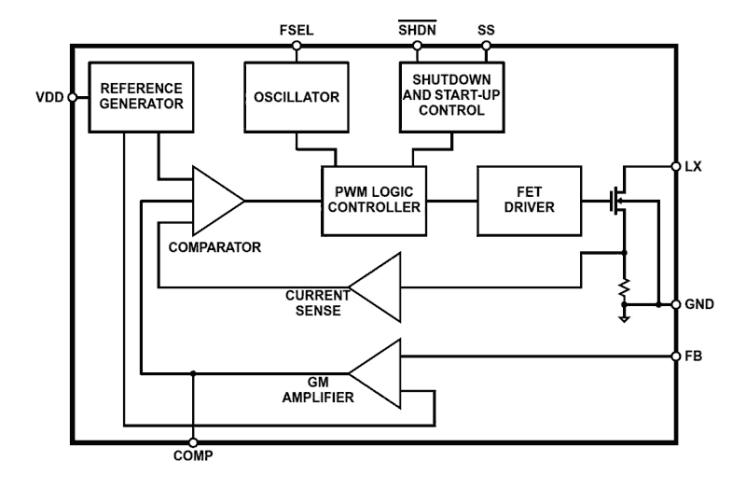
The EL7516 is a high frequency, high efficiency step-up voltage regulator operated at constant frequency PWM mode. With an internal 1. 5A, 200mΩ MOSFET, it can deliver up to 600mA output current at over 90% efficiency. The selectable 600kHz and 1. 2MHz allows smaller inductors and faster transient response. An external compensation pin gives the user greater flexibility in setting frequency compensation allowing the use of low ESR Ceramic output capacitors. When shut down, it draws 10µA of current and can operate down to 2. 5V input supply. These features along with 1. 2MHz switching frequency makes it an ideal device for portable equipment and TFT-LCD displays. The EL7516 is available in an 8 Ld MSOP package with a maximum height of 1. 1mm. The device is specified for operation over the full -40°C to +85°C temperature range.

Applications

  • TFT-LCD displays
  • DSL modems
  • PCMCIA cards
  • Digital cameras
  • GSM/CDMA phones
  • Portable equipment
  • Handheld devices

Applied Filters: