Overview
Description
The Renesas Starter Kit for RX610 is intended as a user-friendly introductory and evaluation tool for the RX610 microcontroller. The board also provides a useful platform for evaluating the Renesas suite of development tools for coding and debugging, using High-performance Embedded Workshop as well as programming the device using E1 emulator and/or Flash Development Toolkit.
The Renesas Starter Kit for RX610 may be connected to the host PC using a simple RS232 serial connection or via the included USB E1 on chip debugging interface.
The purpose of the board is to enable the user to evaluate the capabilities of the device and its peripherals by giving the user a simple platform on which code can be run only minutes from opening box. It can also prove an invaluable tool in development by providing a useful test platform for code already debugged using one of our more powerful emulation tools.
About the bundled emulator
We have already discontinued production of the E1 emulator due to components of the product having reached their EOL (end of life, i.e. end of production). Please click on the following link to confirm the details and our successor products.
[Notification] End of Life (EOL) Notice for E1 Emulator (PDF | English, 日本語)
The Renesas Starter Kit which includes the E1 emulator is for sale as long as stocks last. There are no changes to the included emulator.
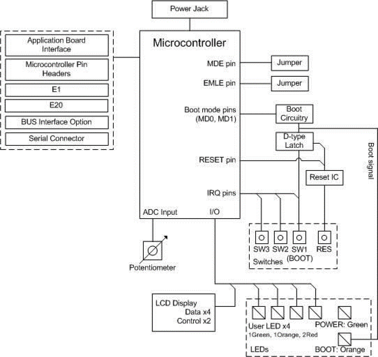
Layout and Specification
The LCD display module is supplied as a detachable sub-board. The board dimensions are 120 mm by 100 mm, detailed dimensions are available in the user manual.

| Item | Specification |
|---|---|
| Microcontroller | R5F56107VNFP |
| Input Clock | Main: 12.5 MHz |
| Potentiometer | Single-turn, 10 kΩ |
| LED | Power indicator: green x 1 |
| Boot indicator: orange x 1 | |
| User: green x 1, orange x 1, red x 2 | |
| Switch | Reset x 1 |
| User/Boot x 1 | |
| User x 2 | |
| DC Power Jack | 5 V Input |
| E1 Header | 14-pin box header |
| E20 Connector | 38-pin Mictor Connector |
| RS232 Serial Connector | 9-pin DSUB |
| LCD Display Connector | 14-pin socket |
| Microcontroller Pin Header | 2.54 mm pitch, 30-pin x 2 (J1, J3), 20-pin x 2 (J2, J4) |
| Application Board Interface | 2.54 mm pitch, 26-pin x 2 (JA1, JA2), 24-pin x 2 (JA5, JA6) |
| BUS Interface Option | 2.54 mm pitch, 50-pin (JA3) |
* E20 Connector, Microcontroller Pin Header, Application Board Interface and BUS Interface Option are not contained in the product.
* The potentiometer is fitted to offer an easy way of supplying a variable analog input to the controller. It does not necessarily reflect the accuracy of the controllers ADC. Please see the device manual for details.
Manufacturer Name: PIHER INTERNATIONAL CORPORATION
Part Number: N6R (6 mm RoHS reflowable potentiometer)
Configuration
- CPU Board
- Detachable LCD Display Module
- Detachable AD Adjustment Shaft
- E1 Emulator
- Connection Cable (USB Cable, User Interface Cable)
- Quick Start Guide
- CD-ROM
- Documents: User Manual, Tutorial, and more
- IDE: High-performance Embedded Workshop
- C Compiler: C/C++ Compiler Package for RX Family Evaluation Version
- Debugger: E1/E20 Emulator Debugger
- Flash Memory Programmer: Flash Development Toolkit Evaluation Version
Notes
- The C/C++ Compiler Package for RX Family Evaluation Version does not come with technical support services. In addition, The C/C++ Compiler Package for RX Family Evaluation Version has some restrictions compared to the Product Version.
Trial period: 60 days
The link size will be limited to 128 KB after 60 days. - The Flash Development Toolkit Evaluation Version does not come with technical support services.
PC System Requirements
- IBM PC/AT or compatible PC (USB interface necessary) *1
- Intel Pentium Ⅲ 600 MHz or higher *3
- Memory 128 MB or higher
- Microsoft Windows 2000/ Windows XP / Windows Vista *2 (other than the listed OS is not supported)
*1: IBM and PC/AT are registered trademarks of International Business Machines Corporation of the U.S.
*2: MS, MS-DOS and Windows are registered trademarks of Microsoft Corporation of the U.S. No support for Windows Vista® 64-bit editions.
*3: Pentium is a trademark of Intel Corporation of the U.S.
Ordering Information
This product can be purchased through the normal sales channels.
| Product Name | Debugger Supplied | Part Number (Ordering Number) | Availability |
|---|---|---|---|
| Renesas Starter Kit for RX610 | E1 | R0K556100S000BE | Available |