特長
- Push button controlled
- Low power CMOS
- Active current, 3mA max
- Standby current, 100µA typical
- 31 resistive elements
- Temperature compensated
- ±20% end to end resistance range
- -5V to +5V range
- 32 wiper tap points
- Wiper positioned via two push button inputs
- Slow and fast scan modes
- AUTOSTORE® option
- Manual store option
- Wiper position stored in nonvolatile memory and recalled on power-up
- 100 year wiper position data retention
- X9511W = 10kΩ
- Packages
- 8 Ld PDIP
- 8 Ld SOIC
- Pb-free plus anneal available (RoHS compliant)
説明
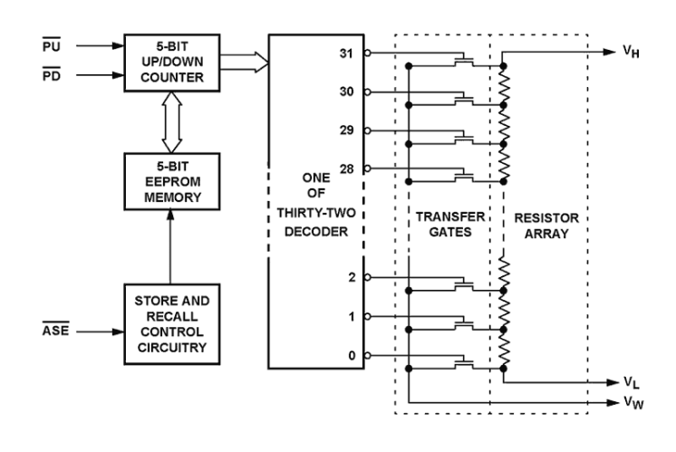
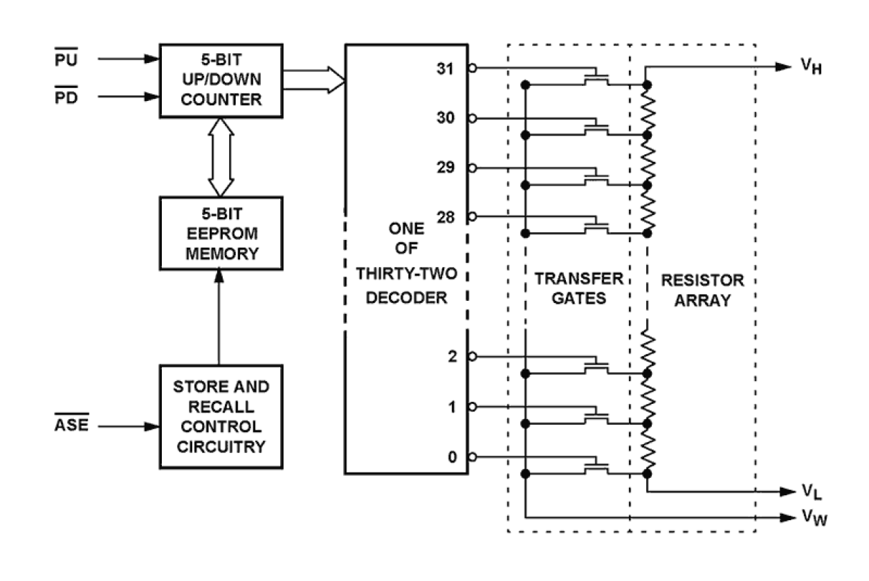
The Intersil X9511 is a push button controlled potentiometer that is ideal for push button controlled resistance trimming. The X9511 is a resistor array composed of 31 resistive elements. Between each element and at either end are tap points accessible to the wiper element. The position of the wiper element is controlled by the PU and PD inputs. The position of the wiper can be automatically stored in EE memory and then be recalled upon a subsequent power-on operation. The resolution of the X9511 is equal to the maximum resistance value divided by 31. As an example, for the X9511W (10kΩ) each tap point represents 323Ω. All Intersil nonvolatile products are designed and tested for applications requiring extended endurance and data retention.
パラメータ
| 属性 | 値 |
|---|---|
| Resistance Taper | Linear |
| Taps (#) | 32 |
| Resistance Options (kΩ) | 10 |
| Channels (#) | 1 |
| Interface | Pushbutton |
| Memory Type | Nonvolatile |
| Supply Voltage Vcc Range | 4.5 to 5.5 |
| Supply Current Icc (µA) | 100 |
| Single Supply Voltage Range (V) | 5.5 |
| Wiper Current (mA) | 1 |
| Wiper Resistance (ohms) | 40 |
| VL Terminal Voltage (Min) (V) | -5 |
| VL Terminal Voltage (Max) (V) | 5 |
| End-to-End Temperature Coefficient (ppm/°C) | 300 |
| Middlepoint Ratiometric Tempco | 20 |
| Qualification Level | Standard |
パッケージオプション
| Pkg. Type | Pkg. Dimensions (mm) | Lead Count (#) | Pitch (mm) |
|---|---|---|---|
| SOICN | 4.9 x 3.9 x 0.00 | 8 | 1.3 |
適用されたフィルター