メインコンテンツに移動
ルネサス エレクトロニクス株式会社 (Renesas Electronics Corporation)

特長

  • Four Video Decoders
  • Four built-in analog anti-aliasing filters
  • Accepts all NTSC/PAL standard formats with auto detection
  • Integrated four anti-aliasing filters and 10-bit CMOS ADCs
  • High performance adaptive comb filters for all NTSC/PAL standards
  • IF compensation filter for improvement of color demodulation
  • PAL delay lines for correcting PAL phase errors
  • Programmable hue, saturation, contrast, brightness and sharpness
  • Dual high performance horizontal and vertical scaler for each channel Dual Video Encoders
  • 2 path digital outputs with ITU-R BT.656 standards
  • 2 path analog outputs with all analog NTSC/PAL standards
  • Supports CVBS or S-Video for each path
  • Programmable bandwidth for luminance and chrominance path Dual Video Controllers
  • Full Live/Strobe/Switch function
  • Various channel attribute control
  • Non-realtime application such as Pseudo 8 Channel or Dual page
  • Horizontal / Vertical Mirroring for each channel
  • Last image capture when video-loss detected
  • Auto sequence switch with 128 queues and/or manual switch by interrupt for Y Path
  • Channel skip in Auto sequence switch for Y Path when video-loss detected
  • Image enhancement for zoomed or still image in X Path
  • High performance 2X zoom to horizontal and vertical direction for X Path
  • Supports save and recall function for X Path
  • Extendable up to 8/16 channel video controller using cascade connection
  • Quad MUX switch with 32 queues and/or manual control by interrupt for Y Path

説明

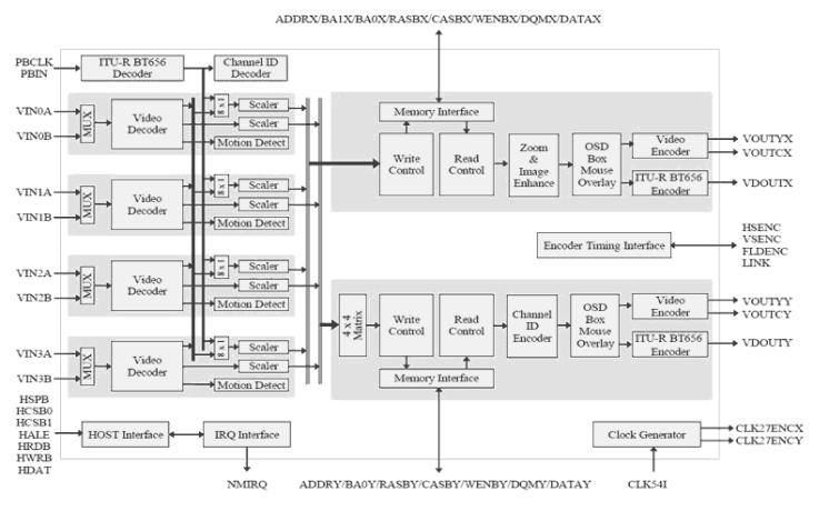
The TW2834 has four high quality NTSC/PAL video decoders, dual color display controllers and dual video encoders. The TW2834 contains four built-in analog anti-aliasing filters, four 10-bit Analog-to-Digital converters, proprietary digital gain/clamp controller, high quality Y/C separator to reduce cross-noise and high performance dual scaler. Four built-in motion and blind detectors can increase the feature of a security system. The TW2834 has a flexible video display controller including basic QUAD and MUX functions. The TW2834 also has excellent graphic overlay function that displays character/bitmap for OSD, single box, 2D array box, and mouse pointer. The built-in channel ID CODEC allows auto decoding and displaying during playback and the additional scaler on the playback supports multi-cropping function of the same field or frame image. The TW2834 contains two video encoders with four 10-bit Digital-to-Analog converters for providing 2 composite or S-video outputs. The TW2834 also can be extended up to 8/16 channel video controller using chip-to-chip cascade connection.

アプリケーション

  • Security
  • Analog Quad\Mux Security System
  • 4/8/16 Ch Digital Video Recorder (DVR)
  • Car Rear Vision System

適用されたフィルター