特長
- 16-channel LED driver controller, unlimited LED voltage per channel
- Patented BroadLED™ adaptive switch mode technology for high current matching at maximum efficiency
- Enables patented 2-pin external LED open/short protection circuit
- Enables the use of cheaper, loosely binned LED arrays for lower BOM cost
- TQFP-44 package – Reduced pin count and cost
- Flexible input supply voltage rating: 5V/9V-16V
- AnyMode™ comprehensive dimming control improves picture quality
- High-frequency PWM dimming up to 4kHz
- Scanning-mode PWM dimming
- Configurable phase-shift dimming
- 8-bit analog dimming
- 12-bit PWM dimming
- Hybrid dimming (analog and PWM)
- PWM dimming range: 0% to 99.9%
- Scalable LED current
- Supports 2D and 3D LCD TV modes
- Supports patterned retarder (PR) and shutter glass (SG) 3D technologies
- Comprehensive protection features:
- Individual LED short protection
- Channel-to-channel short protection
- Current sink MOSFET drain-to-source short protection
- Current sense resistor short protection
- Microcontroller interrupt interface
- LED open-fault detection
- Over-temperature protection
- Digitally controlled scanning mode
- External LED current sink MOSFETs for maximum flexibility
- SPI daisy-chain interface simplifies design when supporting more than 16 LED strings
- Internal PLL ensures jitter-free operation even with a noisy VSYNC signal
- Reduces BOM costs
- Digital control engine eliminates the need for MCUs
- 2-pin sensing removes the need for external high voltage sensing components
- 5V/9V-16V input supply voltage eliminates the need for separate voltage rail
説明
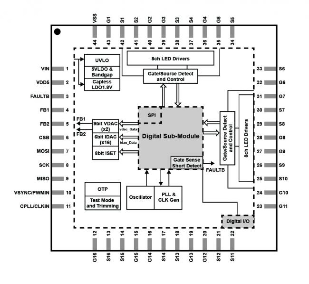
The iW7027 is a 16-channel LED backlight driver that enhances TV picture quality and reduces BOM cost for 2D and 3D LCD TVs. It uses external LED current sinks and up to two external DC/DC converters (boost, buck, LLC, etc.) for the LED driver to enable easy current and voltage scaling. By integrating Renesas' patented BroadLED™ technology, enabling a unique 2-pin LED open/short sensing technology to protect the external current sinks, the iW7027 eliminates the need for high voltage sensing components and reduces the required pin count, resulting in a smaller, lower-cost package. The BroadLED technology also enables the use of loosely binned LED arrays, further reducing the total BOM cost.
Renesas' patented AnyMode™ dimming offers comprehensive, simple and flexible options to improve LED TV picture quality. It allows continuous PWM signals or burst PWM signals that are fully synchronized to the video frame at the same or higher frequency. The PWM duty cycle can be updated in each video frame and with user-configurable tail or head delays. This provides more options to reduce motion blur and improve the contrast ratio. A built-in phase-locked loop (PLL ) further ensures jitter-free operation even with a noisy VSYNC signal.
パラメータ
| 属性 | 値 |
|---|---|
| Channels (#) | 16 |
| LEDs (#) | 16 |
| Total Current for DC/DC Lighting (mA) | 1056 |
| Output Current Max/Channel (mA) | 1000 |
| Output Voltage (Max) (V) | 100 |
| Backlight for LCD Size (inches) | 29 - 85 |
| Brightness Control | Yes |
| Input Voltage (Min) (V) | 5 |
| Input Voltage (Max) (V) | 16 |
| Input Voltage Range (V) | 5 - 16 |
| Integrated Diode | No |
| Interface | SPI |
| Fault Switch | No |
| Over Voltage Protection | No |
| Peak Efficiency (%) | 90 |
| Topology [Rail 1] | Inductor Boost |
パッケージオプション
| Pkg. Type | Pkg. Dimensions (mm) | Lead Count (#) | Pitch (mm) |
|---|---|---|---|
| QFN-48L | 7 x 7 | 48 | 0.5 |
| TQFPEP-44L | — | 44 | — |
| TQFPEP-44L | 10 x 10 | 44 | 0.8 |
アプリケーション
- Direct and Edge-Lit LED TVs
適用されたフィルター