特長
- デュアルOpenLDI入力/出力
- 入力は1チャネルあたり最大150MHzをサポート
- 出力は1チャネルあたり最大104MHzをサポート
- ISO 26262機能安全
- 巡回冗長検査(CRC)、パリティ、ビルトインセルフテスト(BIST)、およびデータパス全体に実装された冗長性セーフティメカニズム
- ビデオ診断機能
- ビデオ タイミング、シグナル インテグリティ、コンテンツの入出力監視
- ちらつき、点滅、オクルージョン、グレア検出
- スペクトラム拡散により、システム・レベルのEMIプロファイルを低減
- 優れた画質を実現するイメージ エンハンスメント エンジン
- デュアルホストインタフェース:I2CおよびSPI(構成可能)
- SPI-Flashベースのオンスクリーンディスプレイ(OSD)と埋め込みフォントベースのOSD
- SPIブート機能(SPIフラッシュからブート、MCUは不要)
- フェイルセーフなOTA(Over-The-Air)アップデートのためのマルチバンクをサポート
- スペース効率の高い72SCQFN、10mm x 10mm
- AEC-Q100グレード 2認定
説明
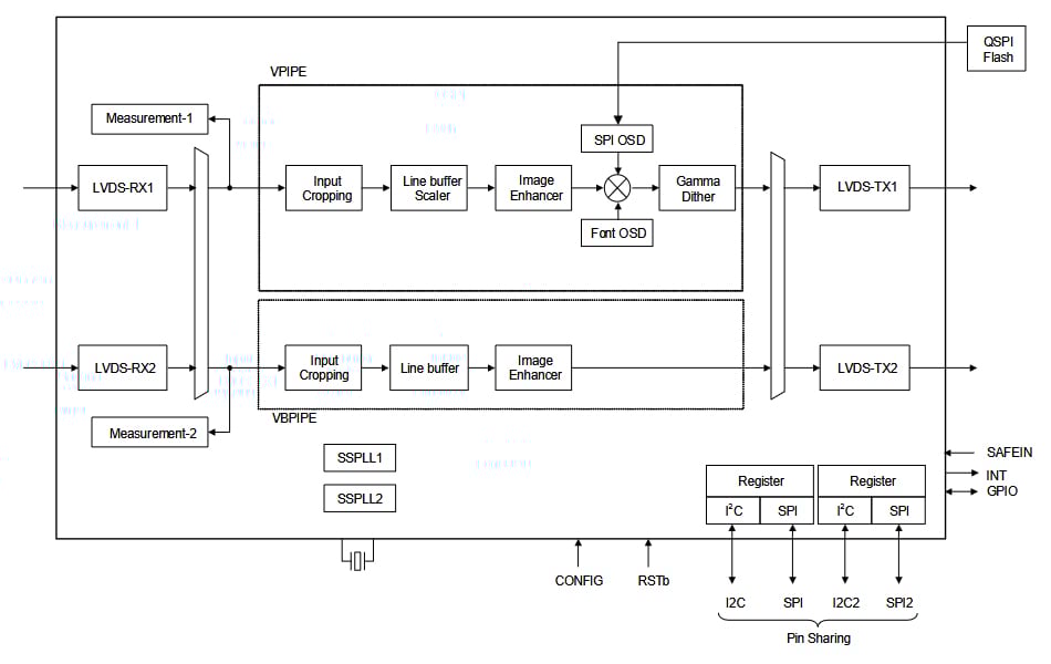
このRAA278830は、ISO 26262 ASIL Bに対応した車載ディスプレイシステムの設計に必要とされる多くの機能を統合したデュアルLVDS(OpenLDI)LCDビデオプロセッサです。ヘッドアップディスプレイ(HUD)、デジタルインストルメントクラスタ、カメラモニタリングシステム(CMSおよび電子ミラー)に最適化されたこのRAA278830は、シグナルインテグリティに加えて、ビデオコンテンツの異常診断を提供します。内部の診断機能および測定エンジンは、入力された画像の固着、色の異常、破損したビデオ画像、およびドライバーの視界を妨げる可能性のある点滅、ちらつき、ビデオ画像(HUDシステムの場合)を検出できます。
パラメータ
| 属性 | 値 |
|---|---|
| CVBS Input | No |
| S-Video Input | No |
| YPbPr Input | No |
| SCART Input | No |
| Digital RGB/Y CbCr Input | No |
| Comb Filter | N/A |
| Output Resolution (Max) | 1080p (1920x1080) |
| De-Interlacer | N/A |
| Color Enhancement | Yes |
| PIP | No |
| OSD Type | Font / SPI bitmap |
| OSD Font RAM | 512 |
| External OSD | No |
| CCFL/LED Controller | No |
| Dual View Output | No |
| LVDS Input | Yes (2CH) |
| LVDS Output | Yes (2CH) |
| Memory Support | No |
| MIPI-CSI2 input | No |
| OSD Colors | 16 Colors / 16-bit Pallette |
| TCON Output | No |
| Touch-screen Controller | No |
| TTL Output | No |
| ISO 26262 (Functional Safety) | ASIL B |
| Qualification Level | AEC-Q100 Grade 2 |
パッケージオプション
| Pkg. Type | Pkg. Dimensions (mm) | Lead Count (#) | Pitch (mm) |
|---|---|---|---|
| SCQFN | 10.0 x 10.0 x 0.85 | 72 | 0.5 |
アプリケーション
- ヘッドアップ ディスプレイ (HUD)
- デジタルインストルメントクラスタ
- 電子ミラー(eMirrors)を含むカメラ監視システム(CMS)
適用されたフィルター