| CADモデル: | View CAD Model |
| Pkg. Type: | PDIP |
| Pkg. Code: | PT28 |
| Lead Count (#): | 28 |
| Pkg. Dimensions (mm): | 34.3 x 7.62 x 3.3 |
| Pitch (mm): | 2.54 |
| Pb (Lead) Free | No |
| Moisture Sensitivity Level (MSL) | 1 |
| ECCN (US) | |
| HTS (US) |
| Lead Count (#) | 28 |
| Pb (Lead) Free | No |
| Carrier Type | Tube |
| Architecture | Uni-directional |
| Bus Width (bits) | 8 |
| Core Voltage (V) | 5 |
| Density (Kb) | 0.5 |
| Family Name | SyncFIFO |
| I/O Frequency (MHz) | 66 - 66 |
| I/O Type | 5.0 V TTL |
| Interface | Synchronous |
| Length (mm) | 34.3 |
| MOQ | 28 |
| Moisture Sensitivity Level (MSL) | 1 |
| Organization | 64 x 8 |
| Package Area (mm²) | 261.4 |
| Pb Free Category | e0 |
| Pitch (mm) | 2.54 |
| Pkg. Dimensions (mm) | 34.3 x 7.62 x 3.3 |
| Pkg. Type | PDIP |
| Qty. per Carrier (#) | 14 |
| Qty. per Reel (#) | 0 |
| Requires Terms and Conditions | Does not require acceptance of Terms and Conditions |
| Tape & Reel | No |
| Temp. Range (°C) | 0 to 70°C |
| Thickness (mm) | 3.3 |
| Width (mm) | 7.62 |
| 掲載 | No |
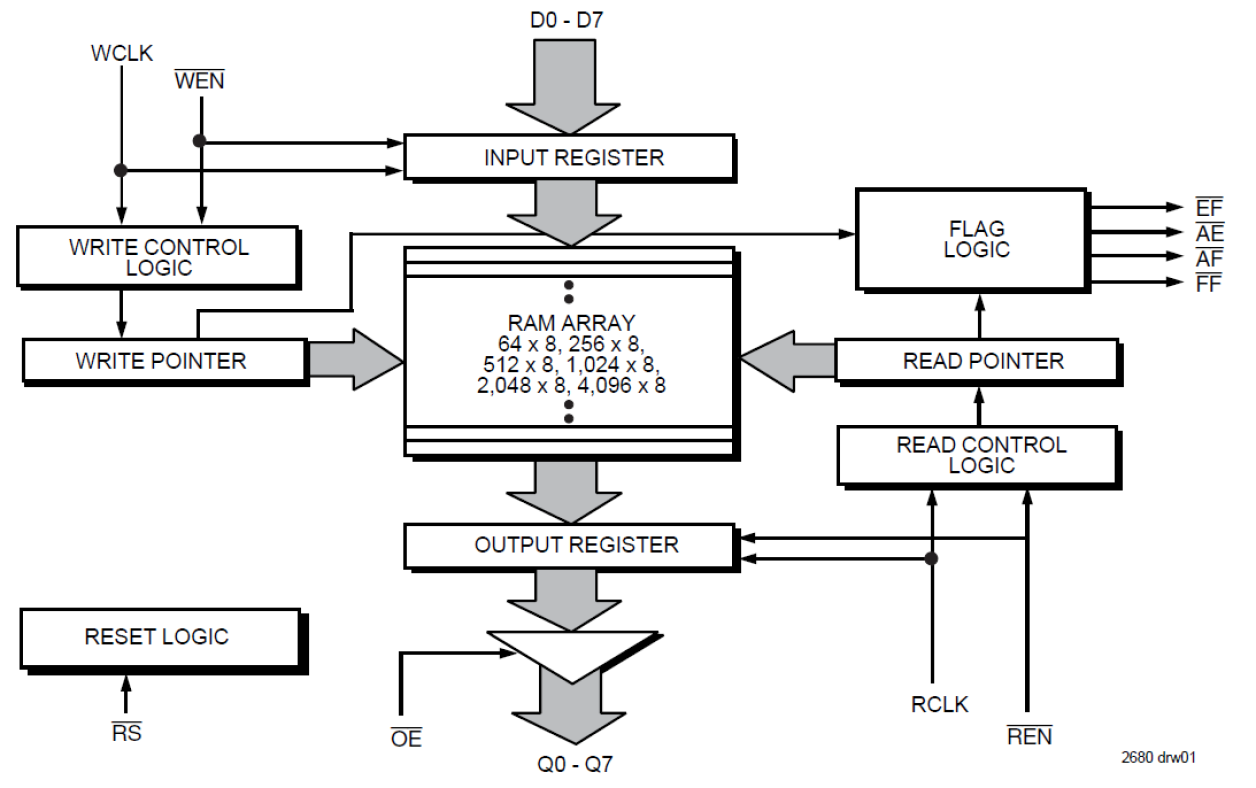
The 72420 is a 64 x 8 SyncFIFO™ with clocked read and write controls. This FIFO is useful for a wide variety of data buffering needs, such as graphics, Local Area Networks (LANs), and interprocessor communication. It has 8-bit input and output ports. The Read Clock can be tied to the Write Clock for single clock operation or the two clocks can run asynchronous of one another for dual clock operation.