Skip to main content

Features

  • Four potentiometers in one package
  • 128 resistor taps
  • I2C serial interface
  • Three address pins, up to eight devices/bus
  • Non-volatile storage of wiper position
  • Wiper resistance: 70Ω typical @ VCC = 3.3V
  • Shutdown mode
  • Shutdown current 5µA max
  • Power supply: 2.7V to 5.5V
  • 50kΩ or 10kΩ total resistance
  • High reliability
  • Endurance: 1,000,000 data changes per bit per register
  • Register data retention: 50 years @ T ≤ +55°C
  • 20 Ld TSSOP or 20 Ld TQFN package
  • Pb-free (RoHS compliant)

Description

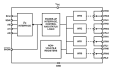
The ISL22346 integrates four digitally controlled potentiometers (DCP) and non-volatile memory on a monolithic CMOS integrated circuit. The digitally controlled potentiometers are implemented with a combination of resistor elements and CMOS switches. The position of the wipers are controlled by the user through the I2C bus interface. Each potentiometer has an associated volatile Wiper Register (WR) and a non-volatile Initial Value Register (IVR) that can be directly written to and read by the user. The contents of the WR controls the position of the wiper. At power-up the device recalls the contents of the two DCP's IVR to the corresponding WRs. The DCPs can be used as a three-terminal potentiometers or as a two-terminal variable resistors in a wide variety of applications including control, parameter adjustments, and signal processing.

Parameters

Attributes Value
Resistance Taper Linear
Taps (#) 128
Resistance Options (kΩ) 10, 50
Channels (#) 4
Interface I2C
Memory Type Nonvolatile
Supply Voltage Vcc Range 2.7 to 5.5
Supply Current Icc (µA) 5
Single Supply Voltage Range (V) 5.5
Wiper Current (mA) 3
Wiper Resistance (ohms) 70
VL Terminal Voltage (Max) (V) 5.5
End-to-End Temperature Coefficient (ppm/°C) 50
Middlepoint Ratiometric Tempco 4
Advanced Features 3 terminal DCP with shutdown feature
Qualification Level Standard

Package Options

Pkg. Type Pkg. Dimensions (mm) Lead Count (#) Pitch (mm)
TQFN 4.0 x 4.0 x 0.80 20 0.5
TSSOP 6.5 x 4.4 x 0.00 20 0.7

Applied Filters: