メインコンテンツに移動
ルネサス エレクトロニクス株式会社 (Renesas Electronics Corporation)

非同期デュアルポートRAM

当社は、先進的な機能と豊富なシステム設計の専門知識を兼ね備えた、卓越した非同期デュアルポートRAMソリューションを提供しています。 当社のメモリデバイスは、クロック入力や出力を必要とせず、アドレスおよび制御ピンの変化に即時に応答します。 これらのダイナミックRAMは、2つのバスから単一のスタティックSRAMメモリロケーションへの同時アクセスを可能にし、設計の簡素化と性能向上を両立します。 アービトレーションロジックを備えた当社の非同期デュアルポートRAMは、システム内の競合を最小化し、高帯域幅が求めらえるアプリケーションに最適です。

帯域幅効率の向上

帯域幅効率の向上

2倍に拡張されたSRAM帯域幅は、要求の厳しいアプリケーションにおいても高い性能を発揮します。

簡素化されたシステム設計

簡素化されたシステム設計

複雑さを軽減することで、より迅速かつ効率的な開発を実現します。

市場投入までの時間の短縮

市場投入までの時間の短縮

設計サイクルを短縮することで、製品の発売までの時間を短縮し、製品のより迅速な市場投入を実現します。

カスタマイズ可能な電圧オプション

カスタマイズ可能な電圧オプション

2.5V~5VのI/O電圧をサポートし、幅広いシステム要件に対応します。

デュアルポートメモリについて

デュアルポートメモリについて

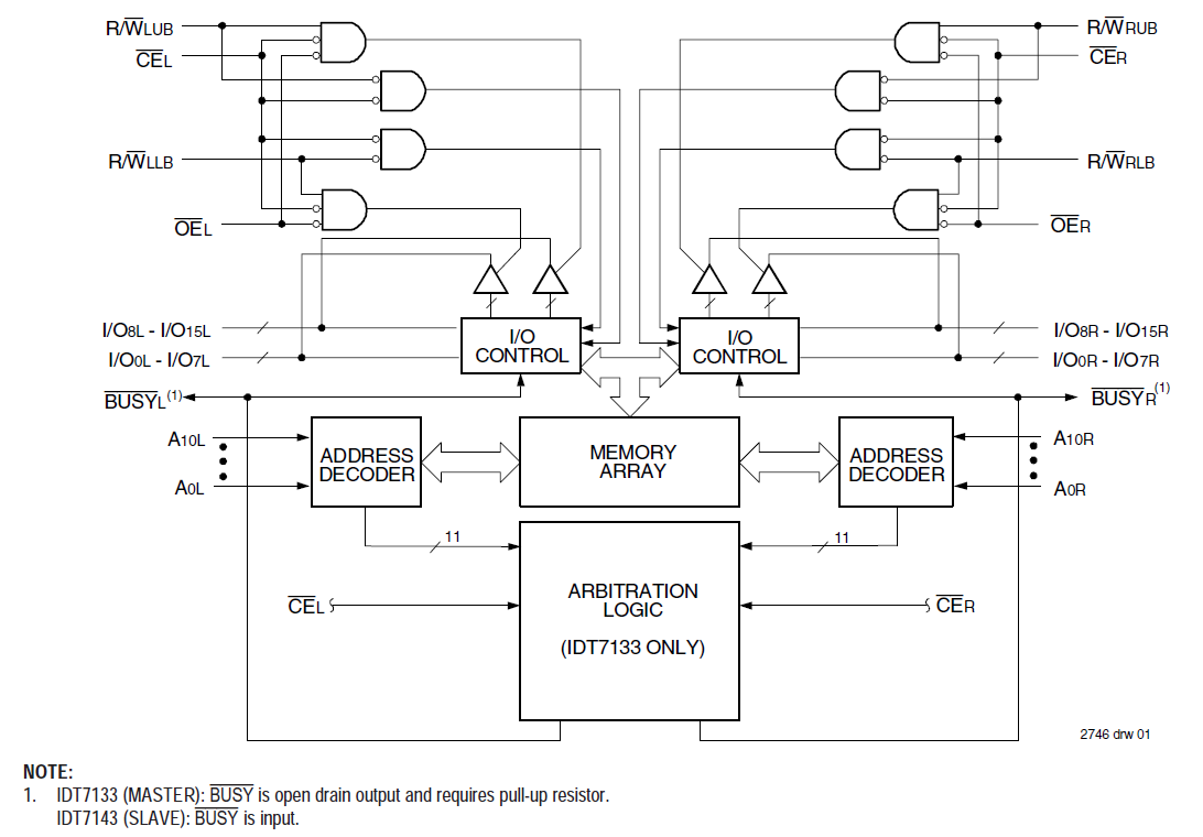
デュアルポートメモリ(デュアルポートRAM)は、メモリ内で複数の読み書きを同時に実行できるため、性能向上に貢献します。 シングルポートメモリが1クロックサイクルあたり1回のアクセスしかできないことに対し、デュアルポートメモリは1クロックサイクルあたり2回のメモリセルアクセスを可能にします。 当社のデュアルポートソリューションは、8トランジスタの基本メモリセルを採用、最適化され、非常にコンパクトなパッケージで提供されるため、より大きなダイサイズを必要としません。

主要なデュアルポートメモリ

主要なデュアルポートメモリ 

  • コア電圧:デュアルポートRAMの供給電圧は、通常、システムで利用可能な電源レールにより決定されます。
  • 入出力電圧:一部のデバイスではデータ入出力に使用される電圧はコア電圧とは別に供給されます。
  • バス幅:デュアルポートRAMへの読み書きに使用される「レーン」の数。 ルネサスは、すべての一般的な構成を提供しています。
  • メモリ密度:デュアルポートRAMが保持できるビット数。 当社は最大18Mbのサイズを提供しています。
  • アクセス時間:情報を検索し、処理可能な状態にするまでに要する時間。 ルネサスのソリューションは、8ナノ秒という短いアクセス時間を実現します。

サポート

記事を参照する

ナレッジベース

ナレッジベースを参照して、役立つ記事、FAQ、その他の役立つリソースを入手してください。
サポートコミュニティ

サポートコミュニティ

ルネサスエンジニアリングコミュニティの技術スタッフから迅速なオンライン技術サポートを受けることができます。