特長
- Solid State Potentiometer
- 32 Taps
- 10kΩEnd to End Resistance
- Three-Wire Up/Down Serial Interface
- Wiper Resistance, 40Ω Typical
- Nonvolatile Storage and Recall on Power-up of Wiper Position Standby Current <500µA Max (Total Package)
- VCC = 3V to 5.5V Operation
- 100 Year Data Retention
- Offered in 8 Ld MSOP and SOIC Packages
- Pb-Free Plus Anneal Available (RoHS Compliant)
説明
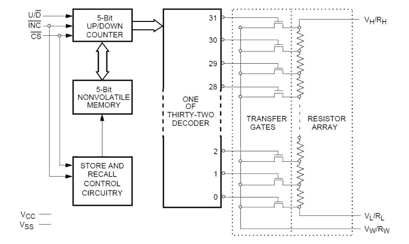
The Intersil X9314 is a solid state nonvolatile potentiometer and is ideal for digitally controlled resistance trimming. The X9314 is a resistor array composed of 31 resistive elements. Between each element and at either end are tap points accessible to the wiper element. The position of the wiper element is controlled by the CS, U/D, and INC inputs. The position of the wiper can be stored in nonvolatile memory and then be recalled upon a subsequent power-up operation. The XDCP can be used as a three-terminal potentiometer or as a two-terminal variable resistor in a wide variety of applications including control, parameter adjustments, and signal processing.
パラメータ
| 属性 | 値 |
|---|---|
| Resistance Taper | Logarithmic |
| Taps (#) | 32 |
| Resistance Options (kΩ) | 10 |
| Channels (#) | 1 |
| Interface | 3-Wire (Up/Down) |
| Memory Type | Nonvolatile |
| Supply Voltage Vcc Range | 3.0 to 5.5 |
| Supply Current Icc (µA) | 500 |
| Wiper Current (mA) | 4.4 |
| Wiper Resistance (ohms) | 40 |
| VL Terminal Voltage (Min) (V) | -5.5 |
| VL Terminal Voltage (Max) (V) | 5.5 |
| End-to-End Temperature Coefficient (ppm/°C) | 600 |
| Middlepoint Ratiometric Tempco | 20 |
| Advanced Features | Integrated charge pump to allow for single supply to swing -5.5V to 5.5V |
| Qualification Level | Standard |
パッケージオプション
| Pkg. Type | Pkg. Dimensions (mm) | Lead Count (#) | Pitch (mm) |
|---|---|---|---|
| SOICN | 4.9 x 3.9 x 0.00 | 8 | 1.3 |
適用されたフィルター