メインコンテンツに移動
ルネサス エレクトロニクス株式会社 (Renesas Electronics Corporation)

特長

  • 1024 resistor taps – 10-bit resolution
  • 2-wire serial interface for write, read and transfer operations of the potentiometer
  • Wiper resistance, 40Ω typical @ 5V
  • Four non-volatile data registers for each potentiometer
  • Non-volatile storage of multiple wiper positions
  • Power on recall: Loads saved wiper position on power-up
  • Standby current < 15µA Max
  • System VCC: 2.7V to 5.5V operation
  • Analog V+/V-: -5V to +5V
  • 100kΩ end-to-end resistance
  • Endurance: 100,000 data changes per bit per register
  • 100 years data retention
  • 14 Ld TSSOP
  • Low power CMOS
  • Pb-free (RoHS compliant)

説明

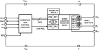
The X9118 is a single digitally controlled potentiometer (XDCP) on a monolithic CMOS integrated circuit. The digital controlled potentiometer is implemented using 1023 resistive elements in a series array. Between each element are tap points connected to the wiper terminal through switches. The position of the wiper on the array is controlled by the user through the 2-wire bus interface. The potentiometer has associated with it a volatile Wiper Counter Register (WCR) and a four non-volatile Data Registers that can be directly written to and read by the user. The contents of the WCR controls the position of the wiper on the resistor array though the switches. Power-up recalls the contents of the default data register (DR0) to the WCR. The XDCP can be used as a three-terminal potentiometer or as a two terminal variable resistors in a wide variety of applications including control, parameter adjustments, and signal processing.

アプリケーション

  • Vary the gain of a voltage amplifier
  • Provide programmable DC reference voltages for comparators and detectors
  • Control the volume in audio circuits
  • Trim out the offset voltage error in a voltage amplifier circuit
  • Set the output voltage of a voltage regulator
  • Trim the resistance in Wheatstone bridge circuits
  • Control the gain, characteristic frequency and Q-factor in filter circuits
  • Set the scale factor and zero point in sensor signal conditioning circuits
  • Vary the frequency and duty cycle of timer ICs
  • Vary the DC biasing of a pin diode attenuator in RF circuits
  • Provide a control variable (I, V, or R) in feedback circuits
  • Adjust the contrast in LCD displays
  • Control the power level of LED transmitters in communication systems
  • Set and regulate the DC biasing point in an RF power
  • amplifier in wireless systems
  • Control the gain in audio and home entertainment systems
  • Provide the variable DC bias for tuners in RF wireless systems
  • Set the operating points in temperature control systems
  • Control the operating point for sensors in industrial systems
  • Trim offset and gain errors in artificial intelligent systems

適用されたフィルター