メインコンテンツに移動
ルネサス エレクトロニクス株式会社 (Renesas Electronics Corporation)

特長

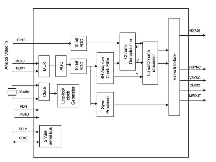
  • Two-wire MPU serial bus interface
  • Power save and Power down mode
  • Low power consumption
  • Single 36MHz crystal for all standards
  • 3.3V tolerant I/O
  • 1.8V/3.3 V power supply
  • 32 pin TQFP package Video Decoder
  • NTSC (M, 4.43) and PAL (B, D, G, H, I, M, N, N combination), PAL (60) support with automatic format detection
  • Software selectable analog inputs allow any of the following combinations, e.g. 2 CVBS or 1 Y/C
  • Built-in analog anti-alias filter
  • Two 10-bit ADCs and analog clamping circuit
  • Fully programmable static gain or automatic gain control for the Y channel Programmable white peak control for the Y channel
  • 4-H adaptive comb filter Y/C separation
  • PAL delay line for color phase error correction
  • Image enhancement with peaking and CTI
  • Digital sub-carrier PLL for accurate color decoding
  • Digital Horizontal PLL for synchronization processing and pixel sampling
  • Advanced synchronization processing and sync detection for handling non-standard and weak signal
  • Programmable hue, brightness, saturation, contrast, and sharpness
  • Automatic color control and color killer
  • Chroma IF compensation
  • ITU-R 656 like YCbCr(4:2:2) output format
  • Programmable output cropping

説明

Support is limited to customers who have already adopted these products.

The TW9960 is a low power NTSC/PAL video decoder chip that is designed for video surveillance applications. It consumes very low power in a typical composite input application. The available power down mode further reduces the power consumption. It uses the 1. 8V for both analog and digital supply voltage and 3. 3V for I/O power. A single 36MHz crystal is all that needed to decode all analog video standards.

適用されたフィルター