メインコンテンツに移動
ルネサス エレクトロニクス株式会社 (Renesas Electronics Corporation)

特長

  • Four potentiometers in one package
  • 256 resistor taps
  • SPI serial interface with write/read capability
  • Daisy Chain Configuration
  • Shutdown mode
  • Non-volatile EEPROM storage of wiper position
  • 11 General Purpose non-volatile registers
  • High reliability
  • Endurance: 1,000,000 data changes per bit per register
  • Register data retention: 50 years @ T ≤ +55°C
  • Wiper resistance: 70Ω typical @ 1mA
  • Standby current <4µA max
  • Shutdown current <4µA max
  • Dual power supply
  • VCC = 2.25V to 5.5V
  • V- = -2.25V to -5.5V
  • 10kΩ, 50kΩ or 100kΩ total resistance
  • Extended industrial temperature range: -40 to +125°C
  • 20 Ld TSSOP or 20 Ld QFN
  • Pb-free plus anneal product (RoHS compliant)

説明

Support is limited to customers who have already adopted these products.

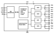
The ISL22444 integrates four digitally controlled potentiometers (DCP), control logic and non-volatile memory on a monolithic CMOS integrated circuit. The digitally controlled potentiometers are implemented with a combination of resistor elements and CMOS switches. The wipers position is controlled by the user through the SPI serial interface. Each potentiometer has an associated volatile Wiper Register (WRi) and a non-volatile Initial Value Register (IVRi) that can be directly written to and read by the user. The contents of the WRi control the position of the wiper. At power-up the device recalls the contents of the DCP's IVRi to the corresponding WRi. The ISL22444 also has 11 General Purpose non-volatile registers that can be used as storage of lookup table for multiple wiper position or any other valuable information. The ISL22444 features a dual supply that is beneficial for applications requiring a bipolar range for DCP terminals between V- and VCC. Each DCP can be used as three-terminal potentiometer or as two-terminal variable resistor in a wide variety of applications including control, parameter adjustments, and signal processing.

適用されたフィルター