メインコンテンツに移動

特長

  • Real Time Clock/Calendar
  • Tracks Time in Hours, Minutes, and Seconds
  • Day of the Week, Day, Month, and Year
  • Frequency Output pin
  • 15 Selectable Output Frequencies
  • Single Alarm with Separate Interrupt pin
  • Settable to the Second, Minute, Hour, Day of the Week, Day, or Month
  • Single Event or Pulse Interrupt Mode
  • Automatic Backup to Battery or Super Cap
  • Power Failure Detection
  • On-Chip Oscillator Compensation
  • 8 Bytes Battery-Backed User SRAM
  • I2C Interface
  • 400kHz Data Transfer Rate
  • 400nA Battery Supply Current
  • Small Package Option
  • 10 Ld MSOP Package
  • Pb-Free Plus Anneal Available (RoHS Compliant)

説明

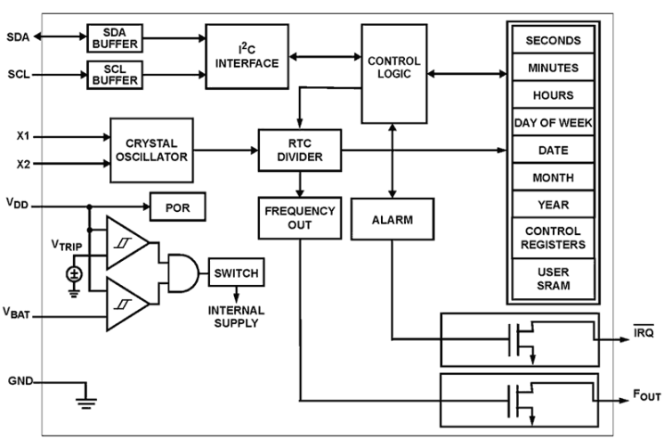
The ISL1220 device is a low power real time clock with timing and crystal compensation, clock/calendar, power fail indicator, periodic or polled alarm, intelligent battery backup switching, battery-backed user SRAM and separate FOUT and IRQ outputs. The oscillator uses an external, low-cost 32. 768kHz crystal. The real time clock tracks time with separate registers for hours, minutes, and seconds. The device has calendar registers for date, month, year and day of the week. The calendar is accurate through 2099, with automatic leap year correction.

アプリケーション

  • Utility Meters
  • HVAC Equipment
  • Audio/Video Components
  • Set Top Box/Television
  • Modems
  • Network Routers, Hubs, Switches, Bridges
  • Cellular Infrastructure Equipment
  • Fixed Broadband Wireless Equipment
  • Pagers/PDA
  • POS Equipment
  • Test Meters/Fixtures
  • Office Automation (Copiers, Fax)
  • Home Appliances
  • Computer Products
  • Other Industrial/Medical/Automotive

適用されたフィルター