メインコンテンツに移動

特長

  • Wide Operating Battery Range (-40V to -58V)
  • Single Additional +5V Supply
  • 30mA Short Loop Current Limit
  • Ring Relay Driver
  • Switch Hook and Ring Trip Detect
  • Low On-Hook Power Consumption
  • On-Hook Transmission
  • ITU-T Longitudinal Balance Performance
  • Loop Power Denial Function
  • Thermal Protection
  • Supports Tip, Ring or Balanced Ringing Schemes
  • Low Profile SO and QFN Surface Mount Packaging
  • Pb-free Available

説明

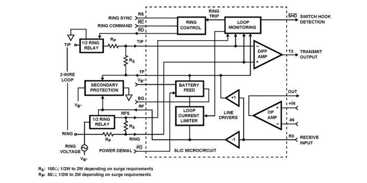
The HC5503PRC is a low cost SLIC optimized for large Telecom switches. It combines a flexible voltage feed architecture with the Intersil latch-free DI bonded wafer process, to provide a low component count, carrier class solution at very low cost. The re-configurable design permits simple, economical solutions for campus-wide call center and PBX applications. External components can be used in conjunction with the high battery voltage capability to meet the complex impedance and long loop drive requirements of Central Office switches, worldwide.

アプリケーション

  • Central Office, PBX, Call Centers
  • Related Literature

適用されたフィルター