メインコンテンツに移動
ルネサス エレクトロニクス株式会社 (Renesas Electronics Corporation)

特長

  • High-voltage types (20V rating)
  • Medium-speed operation
  • Fully static operation
  • Buffered inputs and outputs
  • 100% tested for quiescent current at 20V
  • Standardized symmetrical output characteristics
  • Common reset
  • 5V, 10V and 15V parametric ratings
  • Maximum input current of 1µa at 18V over full package temperature range:
    • 100nA at 18V and 25 °C
  • Noise margin (over full package temperature range):
    • 1V at VDD = 5V
    • 2V at VDD = 10V
    • 2.5V at VDD = 15V
  • Meets all requirements of JEDEC tentative standard No. 13B, "Standard Specifications For Description Of "B" Series CMOS devices

説明

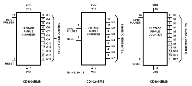
The CD4020BMS (14-stage), CD4024BMS (7-stage), and CD4040BMS (12-stage) are ripple carry binary counters. All counter stages are master-slave flip-flops. The state of a counter advances one count on the negative transition of each input pulse; a high level on the RESET line resets the counter to its all zeros state. Schmitt trigger action on the input-pulse line permits unlimited rise and fall times. All inputs and outputs are buffered. The CD4020BMS, CD4024BMS and CD4040BMS are supplied in these 14-lead outline packages: Braze Seal DIP H4W, H4Q and H4X; Frit Seal DIP H1F and H1B; and Ceramic Flatpack H6W and H3W.

アプリケーション

  • Control counters
  • Timers
  • Frequency dividers
  • Time-delay circuits

適用されたフィルター