メインコンテンツに移動
ルネサス エレクトロニクス株式会社 (Renesas Electronics Corporation)

特長

  • 14-bit pipelined ADC core
  • CMOS or LVDS DDR digital outputs
  • Duty cycle stabilizer
  • Fast OTR detection
  • Flexible input voltage range: 1 V to 2 V p-p with 6 dB programmable fine gain
  • INL &plusmn
  • 1 LSB, DNL &plusmn
  • 0.5 LSB (typical)
  • Input bandwidth, 600 MHz
  • Offset binary, 2's complement, gray code
  • Power dissipation, 387 at 80 Msps
  • Power-down and Sleep modes
  • Sample rate up to 125 Msps
  • SFDR, 90 dBc
  • Single 3 V supply
  • SNR, 73 dB
  • SPI Interface

説明

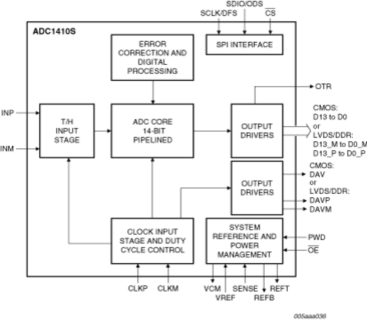
The ADC1410S125HN is a single channel 14-bit Analog-to-Digital Converter (ADC) optimized for high dynamic performances and low power consumption at a sample rates of 125 Msps. Pipelined architecture and output error correction ensure the ADC1410S125HN is accurate enough to guarantee zero missing codes over the entire operating range. Supplied from a single 3 V source, it can handle output logic levels from 1.8 V to 3.3 V in CMOS mode, thanks to a separate digital output supply. It supports the LVDS (Low Voltage Differential Signaling) DDR (Double Data Rate) output standard. An integrated SPI (Serial Peripheral Interface) allows the user to easily configure the ADC. The device also includes a programmable gain amplifier with a flexible input voltage range.

適用されたフィルター