Skip to main content

Features

  • Four potentiometers in one package
  • 256 resistor taps/potentiometer: 0.4% resolution
  • 2-wire serial interface
  • Wiper resistance, 40Ω typical @ V+ = 5V, V- = -5V
  • Four nonvolatile data registers for each potentiometer
  • Nonvolatile storage of wiper position
  • Standby current <5µA max (total package)
  • Power supplies
  • VCC = 2.7V to 5.5V
  • V+ = 2.7V to 5.5V
  • V- = -2.7V to -5.5V
  • 100kΩ, 50kΩ total potentiometer resistance
  • High reliability
  • Endurance: 100,000 data changes per bit per register
  • Register data retention: 100 years
  • 24 Ld SOIC, 24 Ld TSSOP
  • Dual supply version of X9259
  • Pb-free (RoHS compliant)

Description

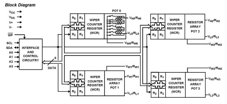
The X9258 integrates 4 digitally controlled potentiometers (XDCP™) on a monolithic CMOS integrated circuit. The digitally controlled potentiometer is implemented using 255 resistive elements in a series array. Between each element are tap points connected to the wiper terminal through switches. The position of the wiper on the array is controlled by the user through the 2-wire bus interface. Each potentiometer has associated with it a volatile Wiper Counter Register (WCR) and 4 non-volatile Data Registers (DR0:DR3) that can be directly written to and read by the user. The contents of the WCR controls the position of the wiper on the resistor array though the switches. Power-up recalls the contents of DR0 to the WCR. The XDCP™ can be used as a three-terminal potentiometer or as a two-terminal variable resistor in a wide variety of applications including control, parameter adjustments, and signal processing.

Parameters

Attributes Value
Resistance Taper Linear
Taps (#) 256
Resistance Options (kΩ) 50, 100
Channels (#) 4
Interface 2-Wire
Memory Type Nonvolatile
Supply Voltage Vcc Range 2.7 to 5.5
Supply Current Icc (µA) 5
Dual Supply Range (V) -2.7 to 5.5
Wiper Current (mA) 7.5
Wiper Resistance (ohms) 40
VL Terminal Voltage (Min) (V) -5.5
VL Terminal Voltage (Max) (V) 5.5
End-to-End Temperature Coefficient (ppm/°C) 300
Middlepoint Ratiometric Tempco 20
Qualification Level Standard

Package Options

Pkg. Type Pkg. Dimensions (mm) Lead Count (#) Pitch (mm)
SOICW 15.4 x 7.5 x 0.00 24 1.3
TSSOP 7.8 x 4.4 x 0.90 24 0.7

Applied Filters: