| CAD Model: | View CAD Model |
| Pkg. Type: | SOICW |
| Pkg. Code: | MWH |
| Lead Count (#): | 24 |
| Pkg. Dimensions (mm): | 15.4 x 7.5 x 0.00 |
| Pitch (mm): | 1.3 |
| Moisture Sensitivity Level (MSL) | 5 |
| ECCN (US) | EAR99 |
| HTS (US) | 8542.39.0090 |
| RoHS (X9258US24ZT2) | Download |
| Pb (Lead) Free | Yes |
| Carrier Type | Reel |
| Moisture Sensitivity Level (MSL) | 5 |
| Country of Assembly | MALAYSIA |
| Country of Wafer Fabrication | USA |
| Channels (#) | 4 |
| Dual Supply Range (V) | -2.7 to 5.5 |
| End-to-End Temperature Coefficient (ppm/°C) | 300 |
| Interface | 2-Wire |
| Lead Count (#) | 24 |
| Length (mm) | 15.4 |
| MOQ | 1000 |
| Memory Type | Nonvolatile |
| Middlepoint Ratiometric Tempco | 20 |
| Pb (Lead) Free | Yes |
| Pb Free Category | Pb-Free 100% Matte Tin Plate w/Anneal-e3 |
| Pitch (mm) | 1.3 |
| Pkg. Dimensions (mm) | 15.4 x 7.5 x 0.00 |
| Pkg. Type | SOICW |
| Price (USD) | $12.89348 |
| Qualification Level | Standard |
| Resistance Options (kΩ) | 50 |
| Resistance Taper | Linear |
| Supply Current Icc (µA) | 5 |
| Supply Voltage Vcc (Min) (V) | 2.7 |
| Supply Voltage Vcc Range | 2.7 to 5.5 |
| Taps (#) | 256 |
| Temp. Range (°C) | 0 to +70°C |
| VL Terminal Voltage (Max) (V) | 5.5 |
| VL Terminal Voltage (Min) (V) | -5.5 |
| Width (mm) | 7.5 |
| Wiper Current (mA) | 7.5 |
| Wiper Resistance (ohms) | 40 |
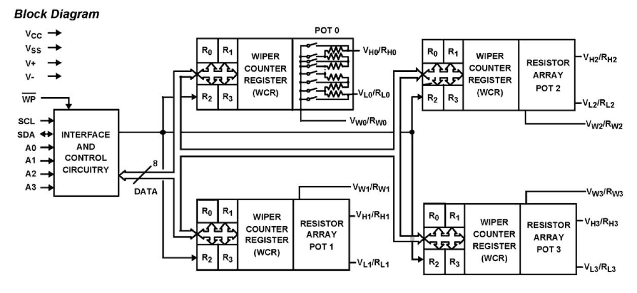
The X9258 integrates 4 digitally controlled potentiometers (XDCP™) on a monolithic CMOS integrated circuit. The digitally controlled potentiometer is implemented using 255 resistive elements in a series array. Between each element are tap points connected to the wiper terminal through switches. The position of the wiper on the array is controlled by the user through the 2-wire bus interface. Each potentiometer has associated with it a volatile Wiper Counter Register (WCR) and 4 non-volatile Data Registers (DR0:DR3) that can be directly written to and read by the user. The contents of the WCR controls the position of the wiper on the resistor array though the switches. Power-up recalls the contents of DR0 to the WCR. The XDCP™ can be used as a three-terminal potentiometer or as a two-terminal variable resistor in a wide variety of applications including control, parameter adjustments, and signal processing.