Skip to main content
Renesas Electronics Corporation
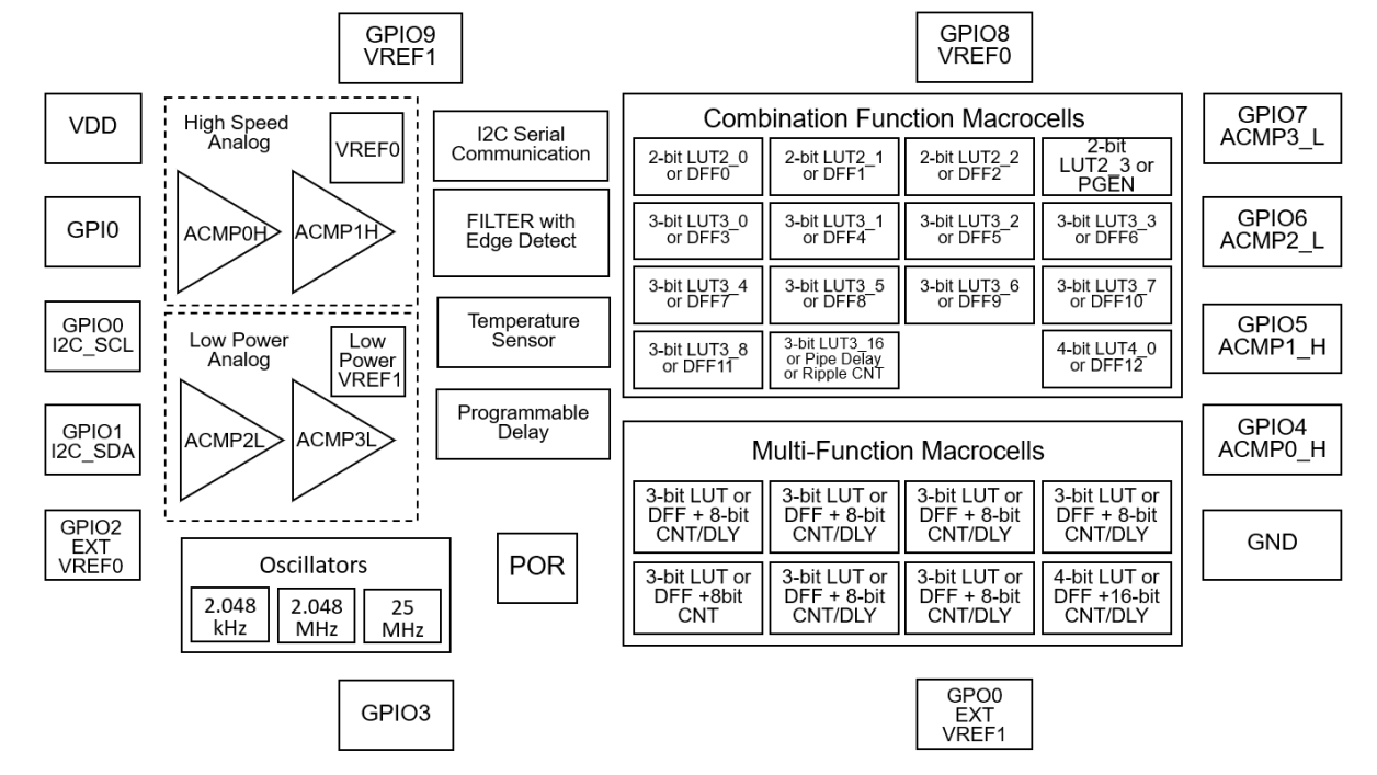
GreenPAK Programmable Mixed-Signal IC, VDD Range: 2.3-5.5V, 12 GPIOs, 4 ACMPs, I2C
This device is factory-configurable.
Try the Custom Part Configuration Utility.

Package Information

CAD Model:View CAD Model
Pkg. Type:TQFN
Pkg. Code:
Lead Count (#):14
Pkg. Dimensions (mm):1.6 x 2.0
Pitch (mm):0.4

Environmental & Export Classifications

Moisture Sensitivity Level (MSL)1
Pb (Lead) FreeYes
ECCN (US)EAR99
HTS (US)8542.39.0090

Product Attributes

Lead Count (#)14
Carrier TypeTape & Reel
Moisture Sensitivity Level (MSL)1
Pb (Lead) FreeYes
Temp. Range (°C)-40 to +85°C
Country of AssemblyCHINA, TAIWAN
Country of Wafer FabricationTAIWAN
# of Programable Delays (#)1
ACMP Channels (#)4
Additional FeaturesSupported in Go Configure™ Software Hub
CNT/DLY (Max) (#)8
D Flip-flops (DFFs) (#)21
GPIOs (#)12
InterfaceI2C
LUTs (Max) (#)23
Longevity2038 Jan
MOQ3000
Memory TypeOTP
Nominal VDD2.3 - 5.5
Oscillator TypeRC OSC, LF OSC, Ring OSC
Pattern Generator1
Pipe Delay16-stage
Pitch (mm)0.4
Pkg. Dimensions (mm)1.6 x 2.0
Pkg. TypeTQFN
Price (USD)$0.54746
Qty. per Reel (#)3000
Temperature Sensor (ch) (#)1

Description

The SLG46855 programmable mixed-signal matrix IC provides a small, low-power component for commonly used mixed-signal functions. The users creates their circuit design by programming the one-time programmable (OTP) non-volatile memory (NVM) to configure the interconnect logic, the IO pins, and the macrocells of the SLG46855. This highly versatile device allows for a wide variety of mixed-signal functions to be designed within a very small, low-power single integrated circuit.