Skip to main content

Features

  • Compatible with NMOS 80286
  • Wide Range of Clock Rates
  • DC to 25MHz (80C286-25)
  • DC to 20MHz (80C286-20)
  • DC to 16MHz (80C286-16)
  • DC to 12.5MHz (80C286-12)
  • DC to 10MHz (80C286-10)
  • Static CMOS Design for Low Power Operation
  • ICCSB = 5mA Maximum
  • ICCOP = 185mA Maximum (80C286-10)
  • ICCOP = 220mA Maximum (80C286-12)
  • ICCOP = 260mA Maximum (80C286-16)
  • ICCOP = 310mA Maximum (80C286-20)
  • ICCOP = 410mA Maximum (80C286-25)
  • High Performance Processor (Up to 19 Times the 8086 Throughput)
  • Large Address Space
  • 16 Megabytes Physical/1 Gigabyte Virtual per Task
  • Integrated Memory Management, Four-Level Memory Protection and Support for Virtual Memory and Operating
  • Two 80C86 Upward Compatible Operating Modes
  • 80C286 Real Address Mode
  • PVAM
  • Compatible with 80287 Numeric Data Co-Processor
  • High Bandwidth Bus Interface (25 Megabyte/Sec)
  • Available In
  • 68 Pin PGA (Commercial, Industrial, and Military)
  • 68 Pin PLCC (Commercial and Industrial)

Description

Support is limited to customers who have already adopted these products.

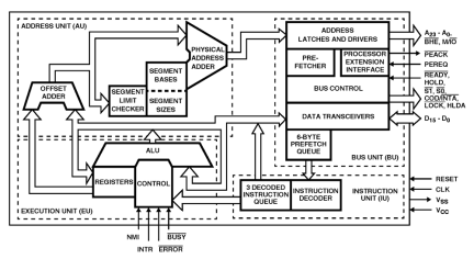
The Intersil 80C286 is a static CMOS version of the NMOS 80286 microprocessor. The 80C286 is an advanced, high-performance microprocessor with specially optimized capabilities for multiple user and multi-tasking systems. The 80C286 has built-in memory protection that supports operating system and task isolation as well as program and data privacy within tasks. A 25MHz 80C286 provides up to nineteen times the throughput of a standard 5MHz 8086. The 80C286 includes memory management capabilities that map 230 (one gigabyte) of virtual address space per task into 224 bytes (16 megabytes) of physical memory.

Applied Filters: