| CAD Model: | View CAD Model |
| Pkg. Type: | SOICN |
| Pkg. Code: | MBI |
| Lead Count (#): | 8 |
| Pkg. Dimensions (mm): | 4.9 x 3.9 x 0.00 |
| Pitch (mm): | 1.3 |
| Moisture Sensitivity Level (MSL) | 1 |
| Pb (Lead) Free | Yes |
| ECCN (US) | EAR99 |
| HTS (US) | 8542.39.0090 |
| RoHS (ISL12057IBZ) | Download |
| Lead Count (#) | 8 |
| Carrier Type | Tube |
| Moisture Sensitivity Level (MSL) | 1 |
| Pitch (mm) | 1.3 |
| Pkg. Dimensions (mm) | 4.9 x 3.9 x 0.00 |
| Pb (Lead) Free | Yes |
| Pb Free Category | Pb-Free 100% Matte Tin Plate w/Anneal-e3 |
| Temp. Range (°C) | -40 to +85°C |
| Country of Assembly | MALAYSIA |
| Country of Wafer Fabrication | TAIWAN |
| Alarms (#) | 2 |
| Battery Backup | No |
| Battery Seal | No |
| Batttery Voltage Range (V) | 0 - 0 |
| CPU Supervisory Function POR | Yes |
| CPU Supervisory Function Watchdog Timer | No |
| Crystal Frequency Trimming | No |
| Frequency Out | IRQ1/FOUT |
| Frequency Out Pin | Yes |
| IRQ Pin | Yes |
| IRQ_bar | IRQ1/FOUT, IRQ2 |
| Interface | I2C |
| Length (mm) | 4.9 |
| MOQ | 1960 |
| Memory Type | RAM |
| Other Functions | Dual Alarms, Dual IRQs |
| Pkg. Type | SOICN |
| Price (USD) | $1.47945 |
| Product Category | Real-Time Clocks, Real-Time Clocks |
| Reset | No |
| Selectable Frequency Output | 4 |
| Supply Voltage Vcc (Min) (V) | 1.4 |
| Supply Voltage Vcc Range | 1.4 to 3.6 |
| Tamper Detect | No |
| Time Keeping Current (µA) | 0.5 |
| Timer | No |
| Width (mm) | 3.9 |
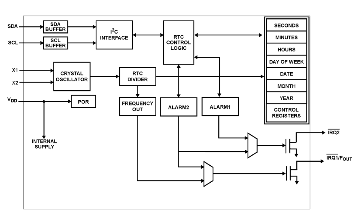
The ISL12057 device is a low-power, real-time clock that is pin compatible and functionally equivalent to Maxim DS1337 with clock/calendar and alarm function. The oscillator uses an external, low-cost 32. 768kHz crystal with 6pF load capacitance. The real-time clock tracks time with separate registers for hours, minutes, and seconds. The device has calendar registers for date, month, year, and day of the week. The calendar is accurate through 2099, with automatic leap year correction.