Skip to main content
Renesas Electronics Corporation

Features

  • NTSC (M, 4.43) and PAL (B, D, G, H, I, M, N, N combination), PAL (60), SECAM with automatic format detection
  • Selectable differential or single-ended CVBS input
  • Supports two differential or 4 single-ended CVBS inputs
  • 10-bit ADC and analog clamping circuit
  • Fully programmable static gain or automatic gain control for the Y or CVBS channel
  • Programmable white peak control for the Y or CVBS channel
  • High quality adaptive 2D comb filter for both NTSC and PAL inputs
  • PAL delay line for color phase error correction
  • TW8809AT-NA2-GR is AEC-Q100 qualified
  • See Datasheet for full list of features

Description

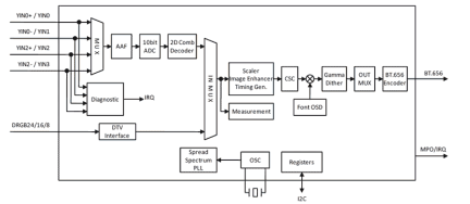
The TW8809 is a low cost video format converter that can take either analog CVBS or 24-bit digital RGB format video and output these signals in ITU-R. 656 format. The video sources can be scaled and deinterlaced, so that the ITU-R BT. 656 output is already formatted to the desired resolution and in progressive format. In addition, the TW8809 has built-in OSD and image enhancement capabilities.

Parameters

AttributesValue
CVBS InputYes (differential)
S-Video InputYes
YPbPr InputNo
SCART InputNo
Analog RGB InputNo
Comb Filter2D
Output Resolution (Max)SVGA
De-Interlacer2D
Color EnhancementNo
PIPNo
OSD TypeFont
OSD Font RAM256
External OSDNo
CCFL/LED ControllerNo
Dual View OutputNo
LVDS InputNo
LVDS OutputNo
MCU/MPUExternal
Memory SupportNo
MIPI-CSI2 inputNo
OSD Colors16 Colors / 16-bit Pallette
Secondary OutputNo
TCON OutputNo
Touch-screen ControllerNo
TTL OutputNo
Qualification LevelAEC-Q100 Grade 2

Package Options

Pkg. TypePkg. Dimensions (mm)Lead Count (#)Pitch (mm)
QFN8.0 x 8.0 x 0.90560.5
WFQFN8.0 x 8.0 x 0.85560.5

Applications

  • Rear seat entertainment
  • Radio head unit

Applied Filters: