Features
- 400MHz -3dB bandwidth
- 2350V/μs typ slew rate, RL = 150Ωto V+/2
- Single-supply operation from +3V to +5.5V
- Rail-to-rail output
- Input ground sensing
- Fast 25ns disable time
- Pb-free (RoHS compliant)
Description
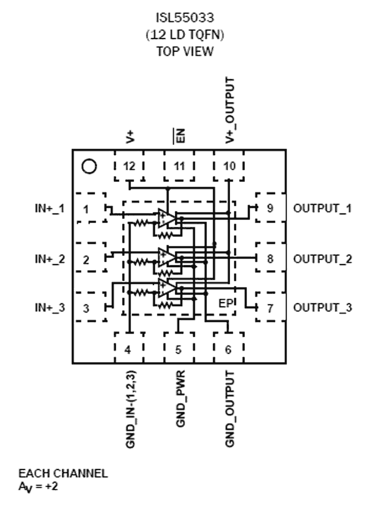
The ISL55033 is a triple rail-to-rail output gain block with a -3dB bandwidth of 400MHz and slew rate of 2350V/μs into a 150Ω load. The ISL55033 has a fixed gain of +2. The inputs are capable of sensing ground. The outputs are capable of swinging to 0. 45V to either rail through a 150Ω resistor connected to V+/2. The ISL55033 is designed for general purpose video applications. The part includes a fast-acting global disable/power-down function. The ISL55033 is available in a 12 Ld TQFN package. Operation is specified over the -40°C to +85°C temperature range.
Applications
- Video Amplifiers
- Set-Top Boxes
- Video Distribution
Applied Filters:
Loading