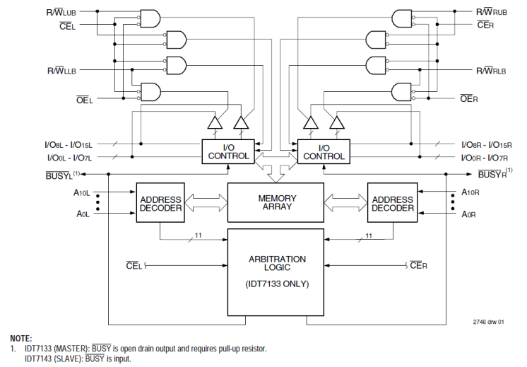
Features
- True Dual-Ported memory cells which allow simultaneous access of the same memory location
- Versatile control for write: separate write control for lower
- and upper byte of each port
- easily expands data bus width to 32 bits or more using SLAVE
- On-chip port arbitration logic
- BUSY input
- Fully asynchronous operation from either port
- Battery backup operation–2V data retention
- TTL-compatible
- single 5V (±10%) power supply
- Available in 68-pin ceramic PGA, Flatpack, PLCC and 100-pin TQFP packages
- Industrial temperature range (–40C to +85C) is available
Description
The 7143 is a high-speed 2K x 16 Dual-Port Static RAMs. Using the IDT MASTER/SLAVE Dual-Port RAM approach in 32-bit-or-wider memory system applications results in full-speed, error-free operation without the need for additional discrete logic. Military grade product in compliance with MIL-PRF-38535 QML is available.
Parameters
| Attributes | Value |
|---|---|
| Core Voltage (V) | 5 |
| Bus Width (bits) | 16 |
| Density (Kb) | 32 |
| Pkg. Code | PLG68 |
| Interface | Async |
| I/O Type | 5.0 V TTL |
| Access Time (ns) | 20 |
| Temp. Range (°C) | 0 to 70°C |
| Architecture | Dual-Port |
| Organization | 2K x 16 |
| Function | Busy, Slave |
Package Options
| Pkg. Type | Pkg. Dimensions (mm) | Lead Count (#) | Pitch (mm) |
|---|---|---|---|
| PLCC | 24.0 x 24.0 x 3.63 | 68 | 1.27 |
Applied Filters:
Loading