Warning message
Please log in or register to access this secure document.
Features
- Bank access controlled via bank address pins
- Selectable Pipelined or Flow-Through output mode
- Counter enable and repeat features
- Dual chip enables allow for depth expansion without additional logic
- Full synchronous operation on both ports
- Separate byte controls for multiplexed bus and bus matching compatibility
- LVTTL- compatible, 3.3V (±150mV) power supply for core
- LVTTL compatible, selectable 3.3V (±150mV) or 2.5V (±100mV) power supply for I/Os and control signals on each port
- Available in 208-pin fpBGA and 256-pin BGA packages
- Includes JTAG functionality
- Industrial temperature range (-40 °C to +85 °C) is available
Description
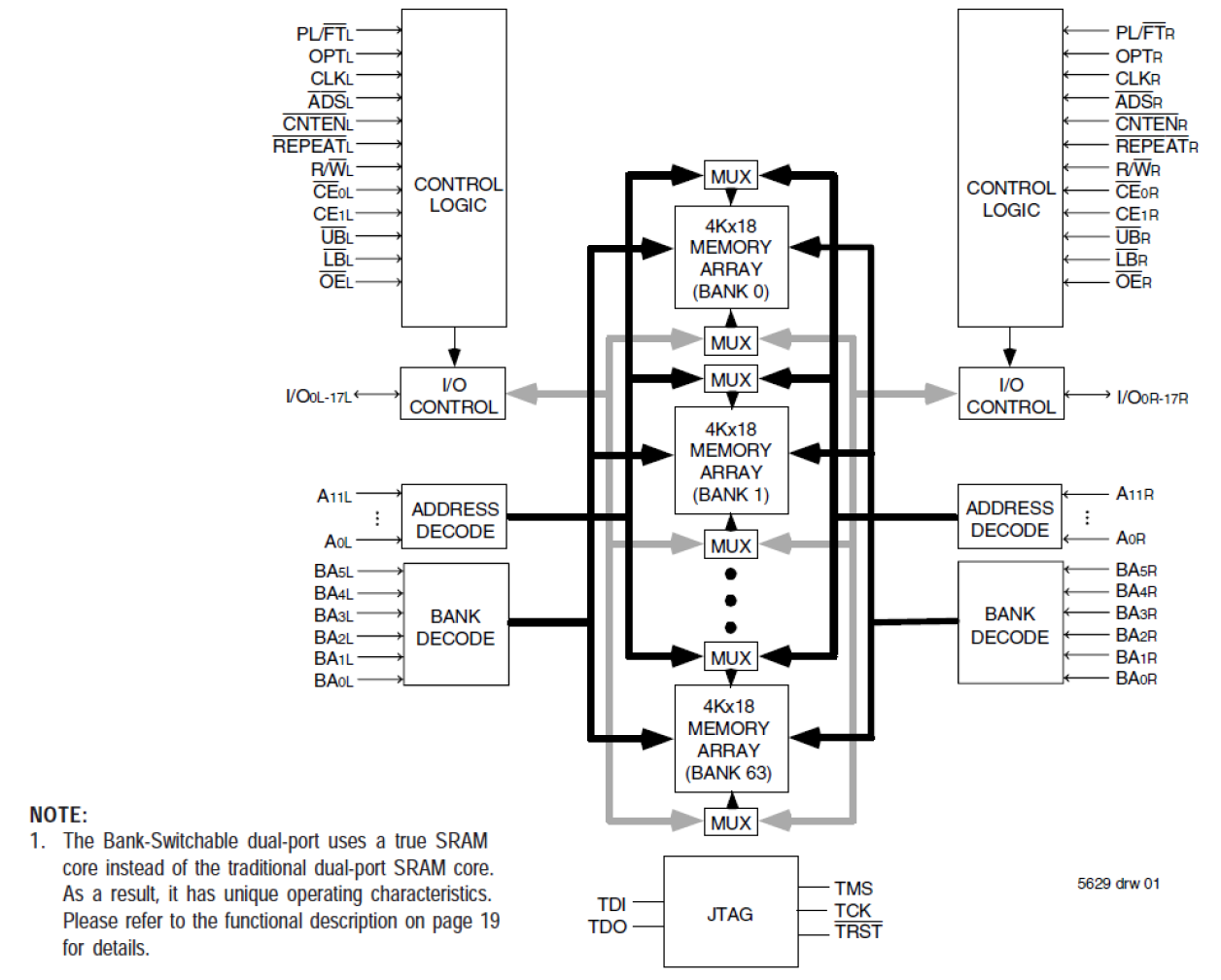
The 70V7319 is a high-speed 256K x 18 (4Mbit) synchronous Bank-Switchable Dual-Ported SRAM is organized into 64 independent 4K x 18 banks and has two independent ports with separate control, address, and I/O pins for each port, allowing each port to access any 4K x 18 memory block not already accessed by the other port. An automatic power down feature, controlled by CE0 and CE1, permits the on-chip circuitry of each port to enter a very low standby power mode.
Applied Filters:
Loading