メインコンテンツに移動
ルネサス エレクトロニクス株式会社 (Renesas Electronics Corporation)

概要

説明

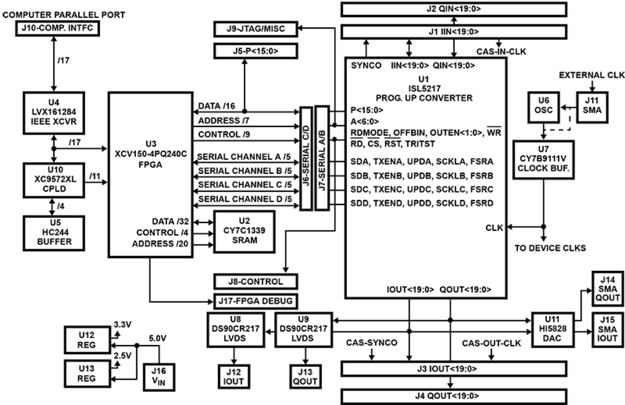
The ISL5217EVAL1 evaluation kit is used to evaluate the ISL5217 quad programmable upconverter (QPUC). The kit consists of an evaluation circuit card assembly (CCA) complete with the ISL5217 device and additional circuitry to provide for control via a computer parallel port. Windows-based demonstration software is provided for full user programmability and control of all ISL5217 operational modes.

The evaluation board provides digital outputs which are accessible through standard logic analyzer headers. It also provides both single-ended and differential analog outputs via SMA connectors and low voltage differential signal (LVDS) outputs. Documentation includes a user guide, full evaluation board schematics and PCB layout materials. Special filter files, pattern files and example configuration script files are included for quickly configuring the board.

特長

  • Evaluation CCA complete with ISL5217 programmable upconverter
  • Windows-based demonstration software
  • Example files for common modulation techniques
  • Parallel port ribbon cable and power supply cable

アプリケーション

ドキュメント

設計・開発

ソフトウェア/ツール

ソフトウェアダウンロード

モデル

製品選択

適用されたフィルター

サポート

サポートコミュニティ

サポートコミュニティ

ルネサスエンジニアリングコミュニティの技術スタッフから迅速なオンライン技術サポートを受けることができます。
記事を参照する

ナレッジベース

ナレッジベースを参照して、役立つ記事、FAQ、その他の役立つリソースを入手してください。
サポートチケット

サポートチケット

技術的に深い内容や公開したくない内容のご質問はこちらです。