| CAD Model: | View CAD Model |
| Pkg. Type: | WFQFN |
| Pkg. Code: | LCA |
| Lead Count (#): | 32 |
| Pkg. Dimensions (mm): | 5.0 x 5.0 x 0.85 |
| Pitch (mm): | 0.5 |
| Moisture Sensitivity Level (MSL) | 2 |
| Pb (Lead) Free | Yes |
| ECCN (US) | EAR99 |
| HTS (US) | 8542.39.0090 |
| RoHS (TW9992AT-NA1-GE) | Download |
| Lead Count (#) | 32 |
| Carrier Type | Tray |
| Moisture Sensitivity Level (MSL) | 2 |
| Pkg. Dimensions (mm) | 5.0 x 5.0 x 0.85 |
| Pb (Lead) Free | Yes |
| Pb Free Category | Nickel/Palladium/Gold-Silver - e4 |
| Temp. Range (°C) | -40 to +105°C |
| Country of Assembly | PHILIPPINES, TAIWAN |
| Country of Wafer Fabrication | USA |
| Analog Output | No |
| Channels per device (#) | 1 |
| Comb Filter | 2D |
| Inputs (#) | 8 |
| Interface | MIPI-CSI2 v1.1 |
| Length (mm) | 5 |
| MOQ | 490 |
| Output Format | D1 |
| Pitch (mm) | 0.5 |
| Pkg. Type | WFQFN |
| Price (USD) | $4.41564 |
| Qualification Level | Automotive |
| Thickness (mm) | 0.85 |
| Video DAC | No |
| Width (mm) | 5 |
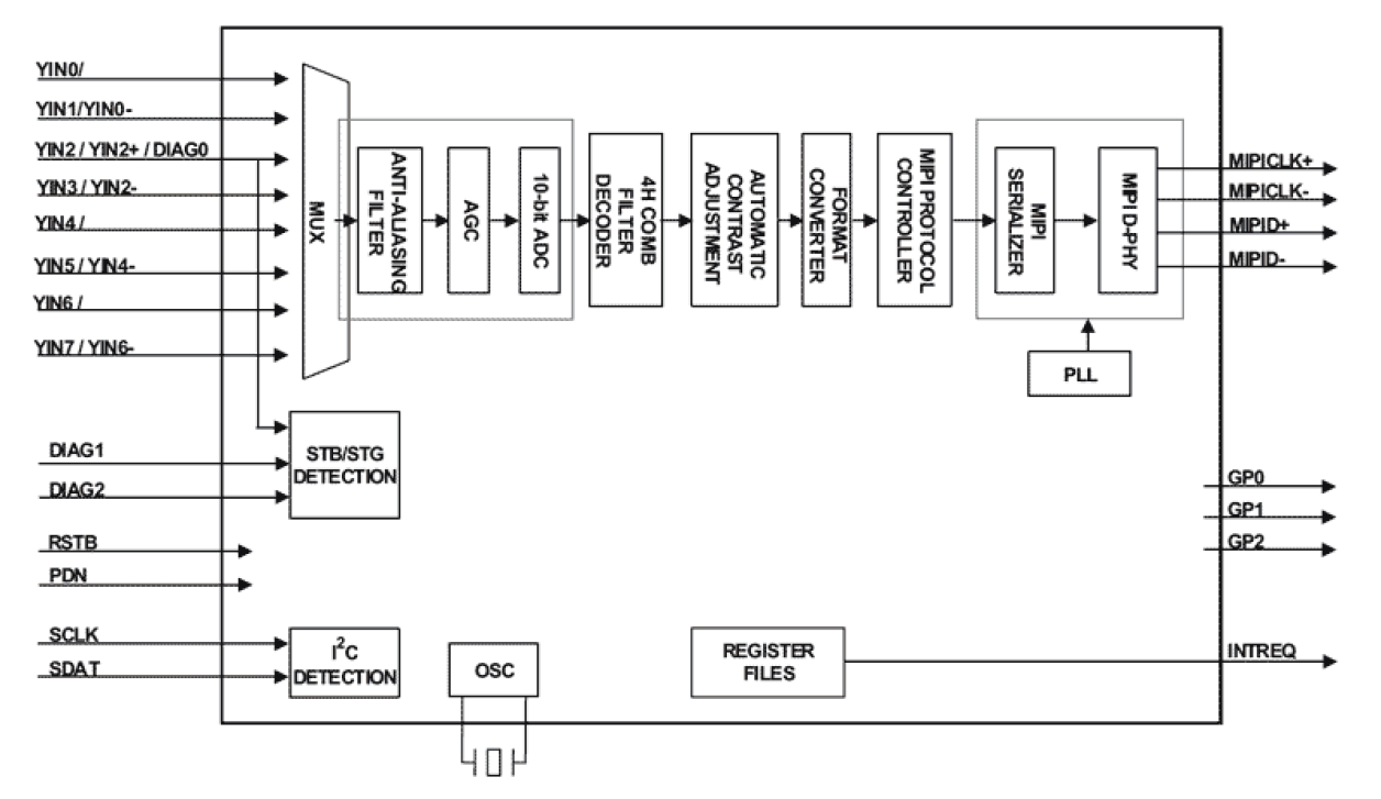
The TW9992 is a low power NTSC/PAL analog video decoder that is designed for automotive applications. It supports single-ended, differential and pseudo differential composite video inputs. Integrated short-to-battery and short-to-ground detection, advanced image enhancement capabilities such as the programmable Automatic Contrast Adjustment (ACA) and the MIPI-CSI2 output interface make the TW9992 an ideal solution for demanding automotive camera applications.