Skip to main content
Renesas Electronics Corporation

Features

  • Four potentiometers in one package
  • 128 resistor taps
  • SPI serial interface
  • Non-volatile storage of wiper position
  • Wiper resistance: 70Ω typical @ VCC = 3.3V
  • Shutdown mode
  • Shutdown current 5µA max
  • Power supply: 2.7V to 5.5V
  • 50kΩ or 10kΩ total resistance
  • High reliability
  • Endurance: 1,000,000 data changes per bit per register
  • Register data retention: 50 years @ T ≤ +55°C
  • 20 Ld TSSOP and 20 Ld TQFN package
  • Pb-free (RoHS compliant)

Description

Support is limited to customers who have already adopted these products.

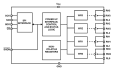
The ISL22446 integrates four digitally controlled potentiometers (DCP) and non-volatile memory on a monolithic CMOS integrated circuit. The digitally controlled potentiometers are implemented with a combination of resistor elements and CMOS switches. The position of the wipers are controlled by the user through the SPI serial interface. Each potentiometer has an associated volatile Wiper Register (WR) and a non-volatile Initial Value Register (IVR) that can be directly written to and read by the user. The contents of the WR controls the position of the wiper. At power-up the device recalls the contents of the DCP's IVR to the corresponding WR. The DCPs can be used as three-terminal potentiometers or as two-terminal variable resistors in a wide variety of applications including control, parameter adjustments, and signal processing.

Applied Filters: