Skip to main content
Renesas Electronics Corporation

Features

  • 256 resistor taps
  • SPI serial interface with write/read capability
  • Daisy Chain Configuration
  • Shutdown mode
  • Non-volatile EEPROM storage of wiper position
  • 14 General Purpose non-volatile registers
  • High reliability
  • Endurance: 1,000,000 data changes per bit per register
  • Register data retention: 50 years at T ≤ +55 °C
  • Wiper resistance: 70Ω typical at 1mA
  • Standby current <2.5µA max
  • Shutdown current <2.5µA max
  • Dual power supply
  • VCC = 2.25V to 5.5V
  • V- = -2.25V to -5.5V
  • 10kΩ, 50kΩ or 100kΩ total resistance
  • Extended industrial temperature range: -40 °C to +125 °C
  • Military temperature range: -55 °C to +125 
  • 10 Lead MSOP
  • Pb-free (RoHS compliant)

Description

Support is limited to customers who have already adopted these products.

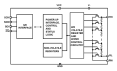
The ISL22414 integrates a single digitally controlled potentiometer (DCP), control logic and non-volatile memory on a monolithic CMOS integrated circuit. The digitally controlled potentiometer is implemented with a combination of resistor elements and CMOS switches. The position of the wiper is controlled by the user through the SPI serial interface. The potentiometer has an associated volatile Wiper Register (WR) and a non-volatile Initial Value Register (IVR) that can be directly written to and read by the user. The contents of the WR control the position of the wiper. At power-up the device recalls the contents of the DCP's IVR to the WR. The ISL22414 also has 14 General Purpose non-volatile registers that can be used as storage of lookup table for multiple wiper position or any other valuable information. The ISL22414 features a dual supply that is beneficial for applications requiring a bipolar range for DCP terminals between V- and VCC. The DCP can be used as three-terminal potentiometer or as two-terminal variable resistor in a wide variety of applications including control, parameter adjustments, and signal processing.

Applied Filters: