Skip to main content

Features

  • Meets All RS-232E and V.28 Specifications
  • Requires Only Single +5V Power Supply
  • (+5V and +12V - HIN239)
  • High Data Rate120kbps
  • Onboard Voltage Doubler/Inverter
  • Low Power Consumption
  • Low Power Shutdown Function
  • Three-State TTL/CMOS Receiver Outputs
  • Multiple Drivers
  • ±10V Output Swing for 5V Input
  • 300Ω Power-Off Source Impedance
  • Output Current Limiting
  • TTL/CMOS Compatible
  • 30V/µs Maximum Slew Rate
  • Multiple Receivers
  • ±30V Input Voltage Range
  • 3kΩ to 7kΩ Input Impedance
  • 0.5V Hysteresis to Improve Noise Rejection
  • Pb-Free Plus Anneal Available (RoHS Compliant)

Description

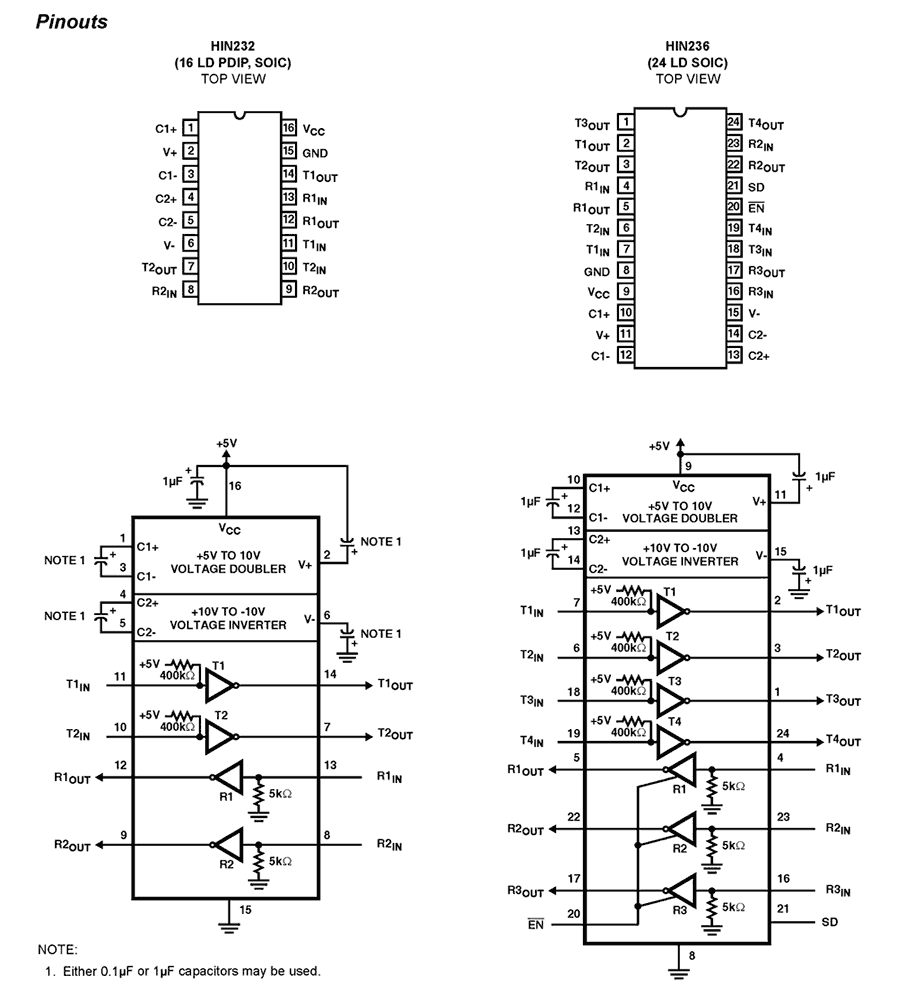
The HIN232-HIN241 family of RS-232 transmitters/receivers interface circuits meet all ElA RS-232E and V. 28 specifications, and are particularly suited for those applications where ±12V is not available. They require a single +5V power supply (except HIN239) and feature onboard charge pump voltage converters which generate +10V and -10V supplies from the 5V supply. The family of devices offer a wide variety of RS-232 transmitter/receiver combinations to accommodate various applications. The drivers feature true TTL/CMOS input compatibility, slewrate- limited output, and 300Ω power-off source impedance. The receivers can handle up to ±30V, and have a 3kΩ to 7kΩ input impedance. The receivers also feature hysteresis to greatly improve noise rejection.

Parameters

AttributesValue
Transmitters (#)2
Receivers (#)2
High ESD ProtectionNo
Data Rate (Mbps)0.12
Supply Voltage Vcc Range4.5-5.5
Manual ShutdownNo
Auto ShutdownNo
Rx DisableNo
Charge-pump Capacitance Value (µF)1
IS Enabled (mA)5

Package Options

Pkg. TypePkg. Dimensions (mm)Lead Count (#)Pitch (mm)
PDIP19.0 x 6.6 x 3.94162.5
SOICW10.3 x 7.5 x 0.20161.3

Applications

  • Any system requiring high-speed RS-232 communications port
  • Computer - portable, mainframe, laptop
  • Peripheral - printers and terminals
  • Instrumentation
  • Modems

Applied Filters: