Skip to main content
Renesas Electronics Corporation

Features

  • Drives Two N-Channel MOSFETs
  • Adaptive Shoot-Through Protection
  • Internal Bootstrap Device
  • Supports High Switching Frequency
  • Fast Output Rise Time
  • Propagation Delay 30ns
  • Small 8 Ld SOIC and EPSOIC and 16 Ld QFN Packages
  • Dual Gate-Drive Voltages for Optimal Efficiency
  • Three-State Input for Output Stage Shutdown
  • Supply Undervoltage Protection
  • QFN Package
  • Compliant to JEDEC PUB95 MO-220 QFN—Quad Flat No Leads—Product Outline.
  • Near Chip-Scale Package Footprint; Improves PCB Efficiency and Thinner in Profile.
  • Pb-Free (RoHS Compliant)

Description

Support is limited to customers who have already adopted these products.

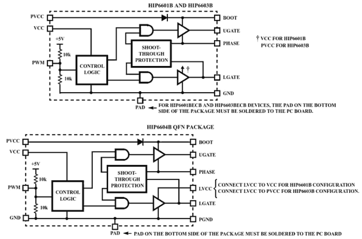
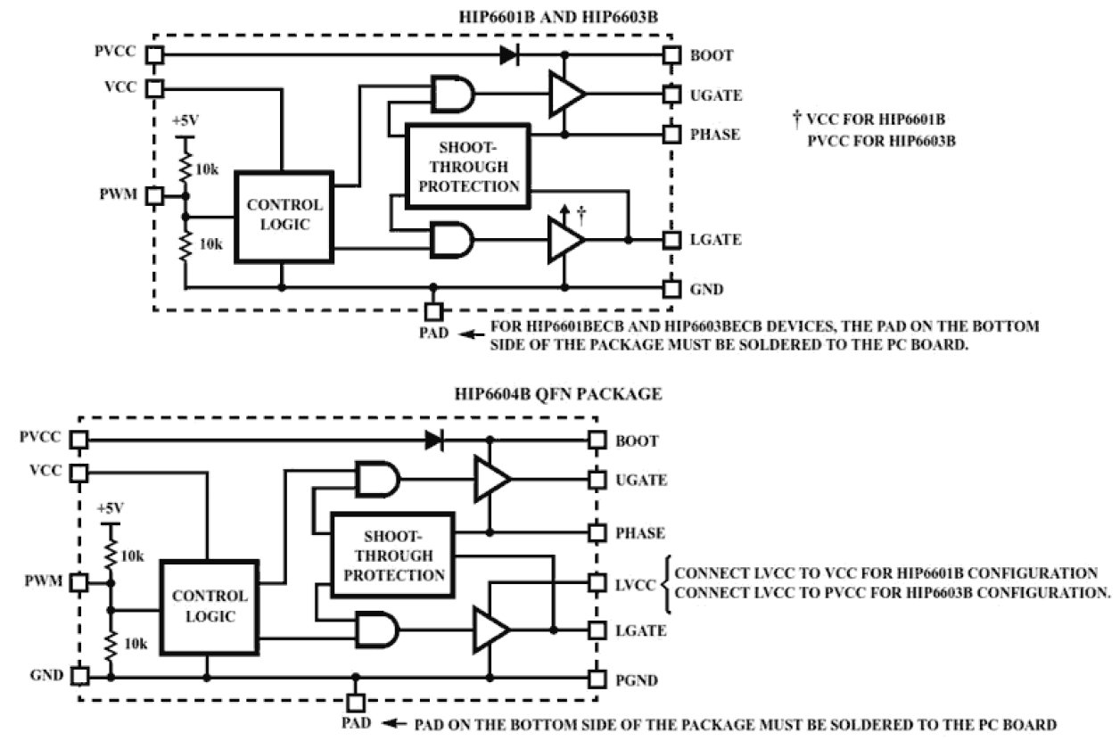
The HIP6601B, HIP6603B and HIP6604B are high-frequency, dual MOSFET drivers specifically designed to drive two power N-Channel MOSFETs in a synchronous rectified buck converter topology. These drivers combined with a HIP63xx or the ISL65xx series of Multi-Phase Buck PWM controllers and MOSFETs form a complete core-voltage regulator solution for advanced microprocessors. The HIP6601B drives the lower gate in a synchronous rectifier to 12V, while the upper gate can be independently driven over a range from 5V to 12V. The HIP6603B drives both upper and lower gates over a range of 5V to 12V. This drive-voltage flexibility provides the advantage of optimizing applications involving trade-offs between switching losses and conduction losses. The HIP6604B can be configured as either a HIP6601B or a HIP6603B. The output drivers in the HIP6601B, HIP6603B and HIP6604B have the capacity to efficiently switch power MOSFETs at frequencies up to 2MHz. Each driver is capable of driving a 3000pF load with a 30ns propagation delay and 50ns transition time. These products implement bootstrapping on the upper gate with only an external capacitor required. This reduces implementation complexity and allows the use of higher performance, cost effective, N-Channel MOSFETs. Adaptive shoot-through protection is integrated to prevent both MOSFETs from conducting simultaneously.

Applications

  • Core Voltage Supplies for Intel Pentium® III, AMD® Athlon™ Microprocessors
  • High Frequency Low Profile DC/DC Converters
  • High Current Low Voltage DC/DC Converters

Applied Filters: